Запчасти Case SV208 (10-006-00[01]) - HYDRAULIC CIRCUIT - OPERATORS COMPARTMENT TILTING CYLINDER (08) - HYDRAULICS

Схема запчастей Case SV208 - (10-006-00[01]) - HYDRAULIC CIRCUIT - OPERATORS COMPARTMENT TILTING CYLINDER (08) - HYDRAULICS
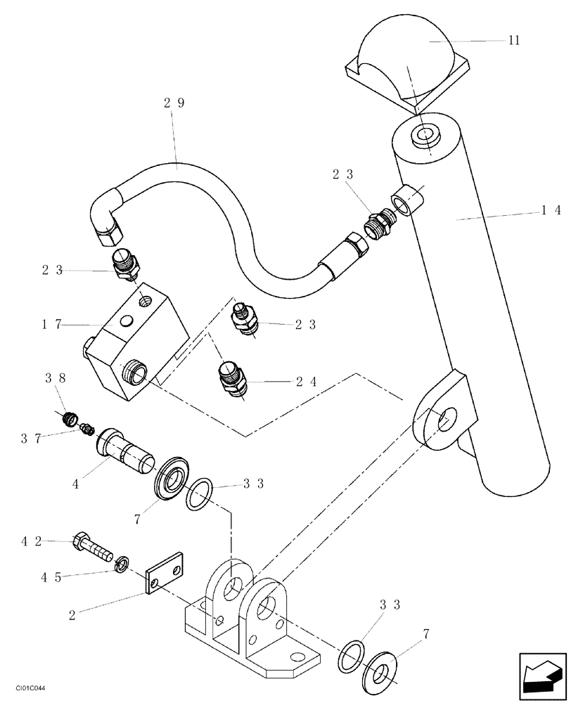
17
29
4
23
33
33
37
42
14
1
45
7
24
2
1
38
23
23
7
FIT
1:1
100%

Артикул

Название

Примечание

Количество

2

ND103345

RETAINING PLATE

1шт.

4

ND049262

PIN

1шт.

7

ND049260

INSERT

2шт.

11

ND102263

STOP

1шт.

14

ND102044

CYLINDER

1шт.

17

ND067918

VALVE

1шт.

23

ND062200

HYD CONNECTOR

3шт.

24

ND062221

HYD CONNECTOR

1шт.

29

ND102241

FLEXIBLE HOSE

270mm

1шт.

33

ND079727

O-RING

33 x 2,5

2шт.

37

ND070133

LUBE NIPPLE,M10 x 1

1шт.

38

ND064758

PLUG

1шт.

42

ND021292

BOLT

M8 x 12

2шт.

46

ND035940

SPRING WASHER

ID 8

2шт.

Выбрано товаров: 14