Запчасти Case SV208 (12-003-00[01]) - HOLDER, HOSE (GROUP 66) (ND104330) (09) - CHASSIS/ATTACHMENTS

Схема запчастей Case SV208 - (12-003-00[01]) - HOLDER, HOSE (GROUP 66) (ND104330) (09) - CHASSIS/ATTACHMENTS
8
6
9
1
2
5
8
9
FIT
1:1
100%

Артикул

Название

Примечание

Количество

REF

INSTRUCTION

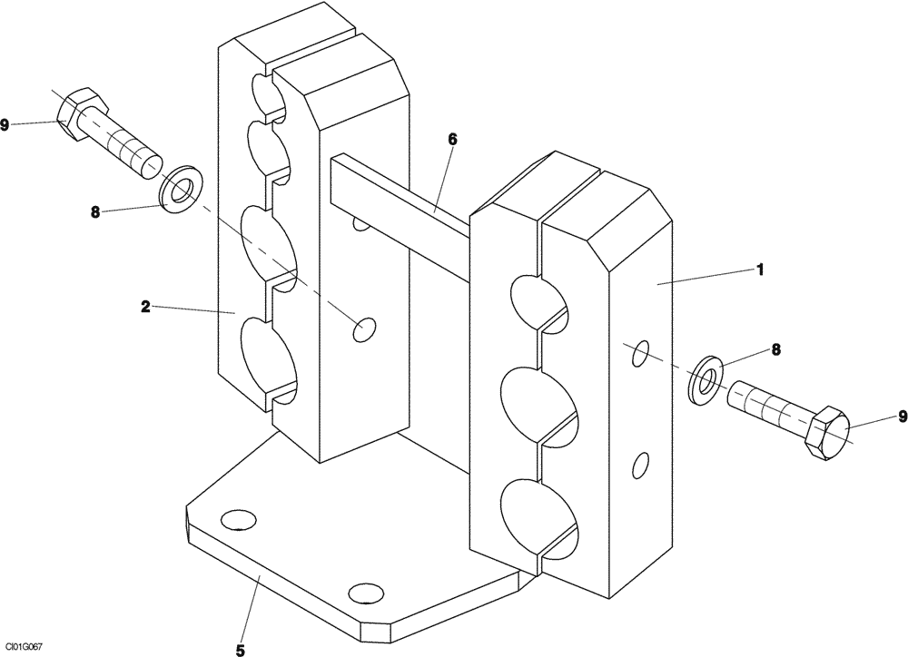
HOLDER, HOSE (ND104330) (GROUP 66)

1шт.

1

ND104329

SUPPORT

RH

1шт.

2

ND104328

SUPPORT

LH

1шт.

5

ND054240

PLATE

1шт.

6

ND104428

PARTITION

1шт.

8

REF

INSTRUCTION

Clamping Fasteners Included

4шт.

9

REF

INSTRUCTION

Clamping Fasteners Included

4шт.

Выбрано товаров: 0