Запчасти Case SV208 (04-006-00[01]) - ELECTRICAL - TILTING, CAB AND ENGINE HOOD (GROUP 416) (ND109559) (04) - ELECTRICAL SYSTEMS

Схема запчастей Case SV208 - (04-006-00[01]) - ELECTRICAL - TILTING, CAB AND ENGINE HOOD (GROUP 416) (ND109559) (04) - ELECTRICAL SYSTEMS
FIT
1:1
100%

Артикул

Название

Примечание

Количество

REF

INSTRUCTION

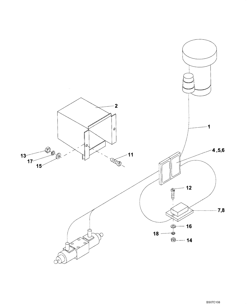
CAB AND ENGINE HOOD TILTING (ND109559) (GROUP 416)

1шт.

1

ND109560

WIRE HARNESS

1шт.

2

ND031973

COVER

1шт.

4

ND065420

SWITCH

2шт.

5

ND065354

LENS

Rating Plate

2шт.

6

ND065309

BEZEL

Terminal Piece

2шт.

7

ND065914

FUSE,24V, 10W

Box

1шт.

8

ND065913

FUSE,50A

50 Amp

1шт.

11

ND024122

BOLT

2шт.

12

ND024112

BOLT

2шт.

13

ND021846

NUT

2шт.

14

ND026413

NUT

M4

2шт.

15

ND029308

WASHER

Spring

2шт.

16

ND029246

WASHER

ID 4,3

2шт.

17

ND029247

WASHER

2шт.

18

ND029306

WASHER

ID 4,1 Spring

2шт.

Выбрано товаров: 16