Качественные детали и логистика
Оригинальные и аналоговые запчасти с доставкой по России, Казахстану и Беларуси
©2022 PartSell ООО "Система" ИНН 2463123282 ОГРН 1212400004838
Центральный офис: г. Красноярск, Академика Киренского, д.87, пом.4
Телефон: 8 (800) 777-65-74 Email: zakaz@partsell.ru
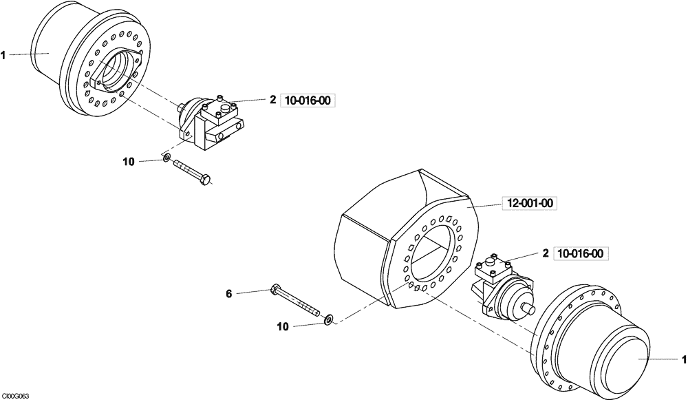
(07-002-00[01]) - DRIVE OF REAR WHEELS
№
Артикул
Название
Примечание
Количество
REF
INSTRUCTION
DRIVE OF REAR WHEELS (ND104270) (GROUP 95)
1шт.
1
ND101398
REDUCER
W/O HD Or Leveling Blade
2шт.
ND107217
GEAR REDUCTION UNIT
With HD or Leveling Blade
2
ND135694
HYDRAULIC MOTOR
Replaces ND110364 Motor, Hydraulic
6
ND021333
BOLT
M16 x 50
36шт.
10
ND035943
WASHER
ID 16
40шт.
Выбрано товаров: 0