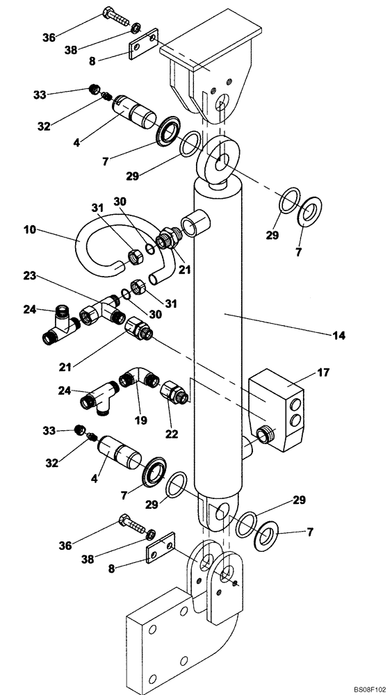
Запчасти Case SV208 (10-008-00[01]) - CYLINDER, HYDRAULIC - HOOD LIFT LH (GROUP 381-2) (ND104300) (08) - HYDRAULICS

Схема запчастей Case SV208 - (10-008-00[01]) - CYLINDER, HYDRAULIC - HOOD LIFT LH (GROUP 381-2) (ND104300) (08) - HYDRAULICS
29
29
21
24
36
7
4
7
38
32
30
14
31
21
4
32
17
22
7
31
30
33
33
8
23
24
38
19
10
7
36
29
29
8
FIT
1:1
100%

Артикул

Название

Примечание

Количество

REF

INSTRUCTION

CLYLINDER, HYRAULIC HOOD LIFT LH (ND104300) (GROUP 381-2)

1шт.

4

ND049262

PIN

2шт.

7

ND049260

INSERT

4шт.

8

ND049268

COVER PLATE

2шт.

10

ND120351

PIPE

1шт.

14

ND068121

CYLINDER

1шт.

17

ND067918

VALVE

1шт.

19

ND062414

ELBOW

1шт.

21

ND062200

HYD CONNECTOR

2шт.

22

ND062221

HYD CONNECTOR

1шт.

23

ND062326

HYD CONNECTOR

1шт.

24

ND062313

HYD CONNECTOR

2шт.

29

ND079727

O-RING

4шт.

30

ND062038

SEAL

2шт.

31

ND062045

NUT

2шт.

32

ND070133

LUBE NIPPLE,M10 x 1

2шт.

33

ND064758

PLUG

2шт.

36

ND021292

BOLT

4шт.

38

ND035940

SPRING WASHER

4шт.

Выбрано товаров: 19