Запчасти Case SV208 (08-17[01]) - MOTOR, HYDRAULIC VIBRATION (GROUP 1-35) (ND104361) (08) - HYDRAULICS

Схема запчастей Case SV208 - (08-17[01]) - MOTOR, HYDRAULIC VIBRATION (GROUP 1-35) (ND104361) (08) - HYDRAULICS
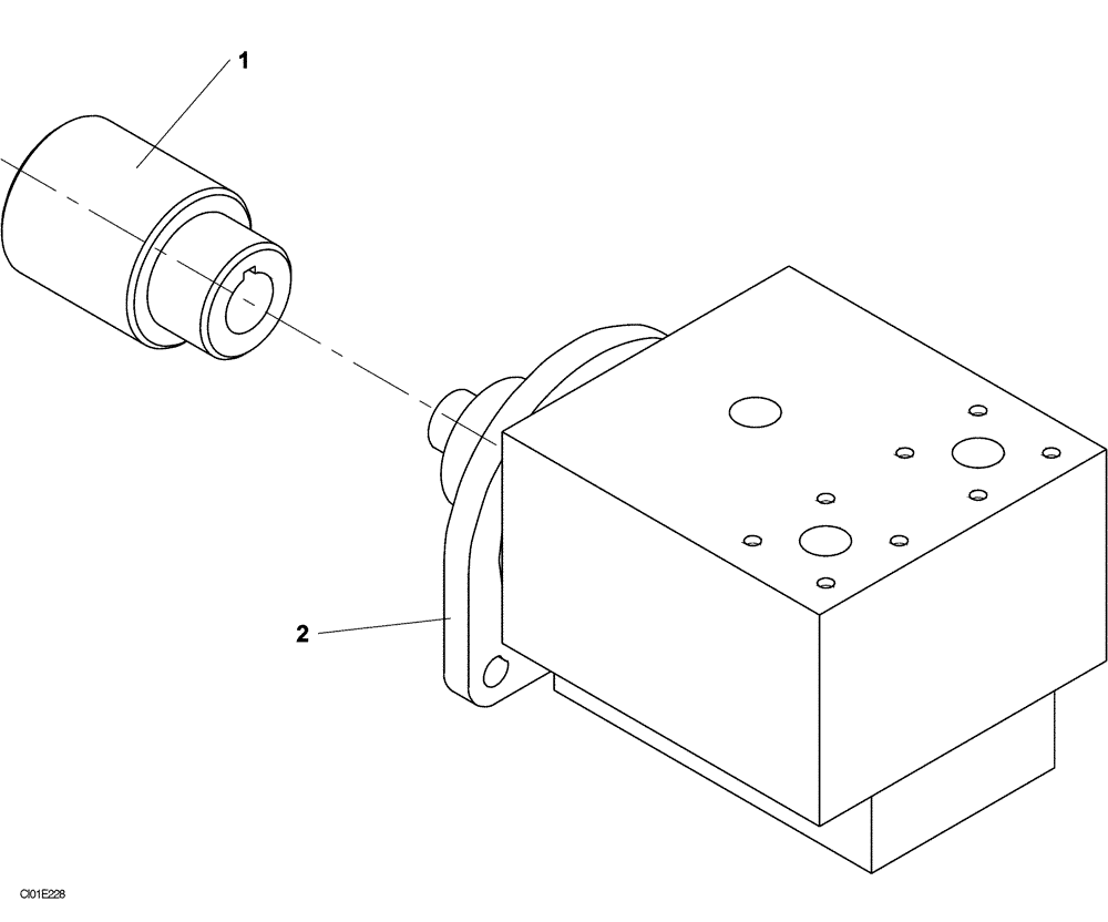
1
2
FIT
1:1
100%

Артикул

Название

Примечание

Количество

ND104361

HYDRAULIC MOTOR

VIBRATION (ND104361) (GROUP 1-35) Incl 1 - 2

1шт.

1

ND104292

COUPLING

1шт.

2

NSS

NOT SOLD SEPARAT

Hydraulic Motor

1шт.

Выбрано товаров: 3