Запчасти Case SV208 (09-00[01]) - CHASSIS ATTACHMENTS - PICTORIAL (09) - CHASSIS/ATTACHMENTS

Схема запчастей Case SV208 - (09-00[01]) - CHASSIS ATTACHMENTS - PICTORIAL (09) - CHASSIS/ATTACHMENTS
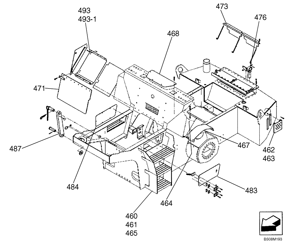
465
484
487
471
493-1
493
468
467
476
473
483
463
462
461
460
464
FIT
1:1
100%

Артикул

Название

Примечание

Количество

REF

INSTRUCTION

Chassis Attachments - Pictorial

1шт.

REF

INSTRUCTION

Frame, Rear - ND138821 - See Figure 09-01- (01)

1шт.

460

REF

INSTRUCTION

Steps, Platform Access LH - ND131851 - See Figure 09-15 (01)

1шт.

461

REF

INSTRUCTION

Steps, Platform Access RH - ND131852 - See Figure 09-16 (01)

1шт.

462

REF

INSTRUCTION

Step RH - ND131873 - See Figure 09-14 (01)

1шт.

463

REF

INSTRUCTION

Step LH - ND132985 - See Figure 09-13 (01)

1шт.

464

REF

INSTRUCTION

Step Upper LH - ND126699 - See Figure 09-12 (01)

1шт.

465

REF

INSTRUCTION

Steps, Platform Access RH - ND134853 - For SV212 Tier 3 Only

1шт.

467

REF

INSTRUCTION

Cover, Rear Drive Motor - ND131877 - See Figure 09-18 (01)

1шт.

468

REF

INSTRUCTION

Cover, Hydraulic Tank - ND126701 - See Figure 09-05 (01)

1шт.

471

REF

INSTRUCTION

Cover, Hydraulic Pump - ND131858 - See Figure 09-08 (01)

1шт.

473

REF

INSTRUCTION

Battery Hold Down - ND131884 - See Figure 09-03 (01)

1шт.

476

REF

INSTRUCTION

Drawbar, Rear - ND131910 - See Figure 09-02 (01)

1шт.

483

REF

INSTRUCTION

Door, Access LH - ND132353 - See Figure 09-11 (01)

1шт.

484

REF

INSTRUCTION

Door, Access RH - ND132354 - See Figure 09-10 (01)

1шт.

487

REF

INSTRUCTION

Lock, Articulated Joint - ND131871 - See Figure 09-09 (01)

1шт.

493

REF

INSTRUCTION

Tool Box - ND131879 - See Figure 09-06 (01)

1шт.

493-1

REF

INSTRUCTION

Door, Tool Box - ND131902 - See Figure 09-07 (01)

1шт.

Выбрано товаров: 18