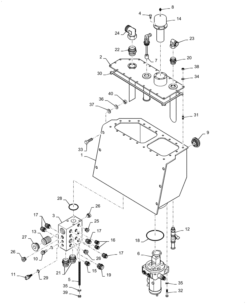
Запчасти Case SV208D (35.300.010[01]) - HYDRAULIC FLUID RESERVOIR (35) - HYDRAULIC SYSTEMS

Схема запчастей Case SV208D - (35.300.010[01]) - HYDRAULIC FLUID RESERVOIR (35) - HYDRAULIC SYSTEMS
31
23
34
39
19
17
10
38
26
11
17
15
28
37
33
26
2
16
35
7
27
5
36
22
25
32
17
30
4
1
9
14
35
13
29
18
26
24
21
40
3
12
8
6
20
FIT
1:1
100%

Артикул

Название

Примечание

Количество

1

48095806

Hyd Oil

RESERVOIR, HYDRAULIC

1шт.

2

48095810

COVER

1шт.

3

48095812

HYDRAULIC VALVE

1шт.

4

ND054246

BOLT

6шт.

5

48095814

STUD

4шт.

6

ND067804

VALVE

1шт.

6

48095815

ELEMENT

1шт.

7

48095816

Hyd Oil Level

SENSOR

1шт.

8

ND065473

ADAPTER

1шт.

9

ND070150

LEVEL GAUGE

Hyd Oil Sight

1шт.

10

ND098754

SENDER UNIT

Hyd Oil Temp

1шт.

11

47620902

SENSOR

Hyd Temperature

1шт.

12

ND121416

COCK, DRAIN

1шт.

13

47905797

SPOOL

1шт.

14

ND065471

CAP

Filler

1шт.

14

48095825

Filter

ELEMENT

1шт.

15

ND062123

HYD CONNECTOR

1шт.

16

ND062154

HYD CONNECTOR

2шт.

17

ND062140

HYD CONNECTOR

4шт.

18

47845479

O-RING

1шт.

19

ND062161

HYD CONNECTOR

1шт.

20

ND092607

FITTING

1шт.

21

ND062162

HYD CONNECTOR

2шт.

22

ND062185

HYD CONNECTOR

1шт.

23

ND062310

COUPLING

1шт.

24

ND062301

HYD CONNECTOR

1шт.

25

ND062372

PLUG

1шт.

26

ND062378

PLUG

3шт.

27

ND133428

PLUG

1шт.

28

ND079937

O-RING

1шт.

29

ND073356

PACKING RING

2шт.

30

ND066078

SEALING STRIP

1шт.

31

ND021710

STUD

22шт.

32

ND021187

BOLT

4шт.

33

ND021208

BOLT

6шт.

34

ND118926

WASHER

22шт.

35

ND035940

SPRING WASHER

8шт.

36

ND035942

WASHER

6шт.

37

ND029251

WASHER

6шт.

38

ND021847

NUT

22шт.

39

ND021848

NUT

4шт.

40

ND021850

NUT

6шт.

Выбрано товаров: 0