Качественные детали и логистика
Оригинальные и аналоговые запчасти с доставкой по России, Казахстану и Беларуси
©2022 PartSell ООО "Система" ИНН 2463123282 ОГРН 1212400004838
Центральный офис: г. Красноярск, Академика Киренского, д.87, пом.4
Телефон: 8 (800) 777-65-74 Email: zakaz@partsell.ru
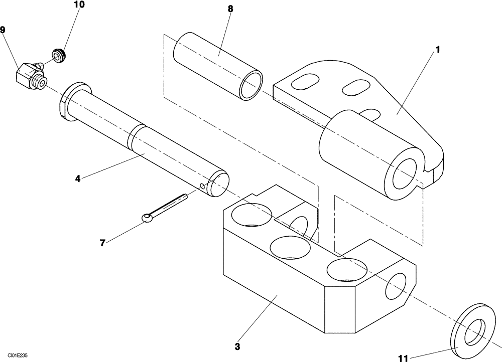
(12-025-00[01]) - ENGINE HOOD HINGES
№
Артикул
Название
Примечание
Количество
1
ND104408
HINGE
1шт.
3
ND052493
4
ND028813
PIN
7
ND029390
COTTER PIN
8
ND035962
BUSHING
2шт.
9
ND070130
LUBE NIPPLE
10
ND064758
PLUG
11
ND029255
WASHER
ID 21
Выбрано товаров: 0