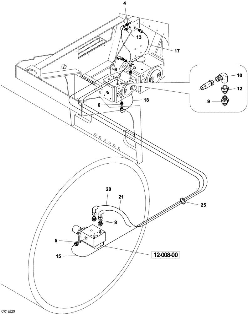
Запчасти Case SV210 (10-002-00[01]) - HYDRAULIC CIRCUIT - VIBRATION (08) - HYDRAULICS

Схема запчастей Case SV210 - (10-002-00[01]) - HYDRAULIC CIRCUIT - VIBRATION (08) - HYDRAULICS
6
13
8
18
15
10
17
9
6
25
12
4
20
5
21
12-008-00
FIT
1:1
100%

Артикул

Название

Примечание

Количество

4

ND062140

HYD CONNECTOR

1шт.

5

ND062181

HYD CONNECTOR

1шт.

6

ND062135

HYD CONNECTOR

3шт.

8

ND062129

HYD CONNECTOR

2шт.

9

ND101487

HYD CONNECTOR

2шт.

10

ND062427

HYD CONNECTOR

2шт.

12

ND062450

HYD CONNECTOR

2шт.

13

ND062420

PLUG

1шт.

15

ND102238

HOSE,3300.00 mm

1шт.

17

ND102233

HOSE,550.00 mm

1шт.

18

ND102234

FLEXIBLE HOSE

540mm

1шт.

20

ND102229

HOSE,2600.00 mm

1шт.

21

ND102228

HOSE,2650.00 mm

1шт.

25

ND078446

SECURING STRAP

10шт.

Выбрано товаров: 14