Качественные детали и логистика
Оригинальные и аналоговые запчасти с доставкой по России, Казахстану и Беларуси
©2022 PartSell ООО "Система" ИНН 2463123282 ОГРН 1212400004838
Центральный офис: г. Красноярск, Академика Киренского, д.87, пом.4
Телефон: 8 (800) 777-65-74 Email: zakaz@partsell.ru
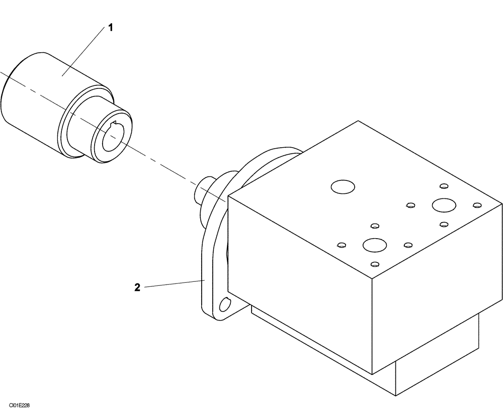
(10-014-00[01]) - HYDRAULIC MOTOR - VIBRATION
№
Артикул
Название
Примечание
Количество
ND104361
HYDRAULIC MOTOR
1шт.
Consists of 1 - 2
1
ND104292
COUPLING
2
NSS
NOT SOLD SEPARAT
Hydraulic Motor
Выбрано товаров: 0