Запчасти Case SV210 (12-003-00[01]) - LINE FASTENERS (09) - CHASSIS

Схема запчастей Case SV210 - (12-003-00[01]) - LINE FASTENERS (09) - CHASSIS
8
9
9
6
1
2
5
8
FIT
1:1
100%

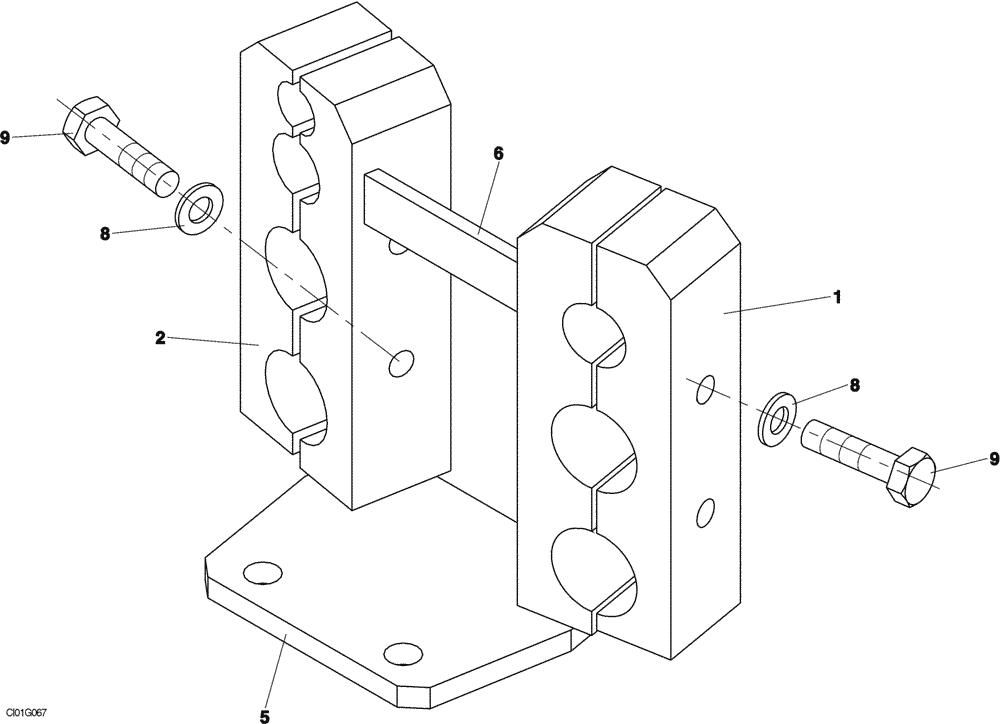
Артикул

Название

Примечание

Количество

1

ND104329

SUPPORT

1шт.

2

ND104328

SUPPORT

1шт.

5

ND054240

PLATE

1шт.

6

ND104428

PARTITION

1шт.

8

NSS

NOT SOLD SEPARAT

4шт.

9

NSS

NOT SOLD SEPARAT

4шт.

Выбрано товаров: 6