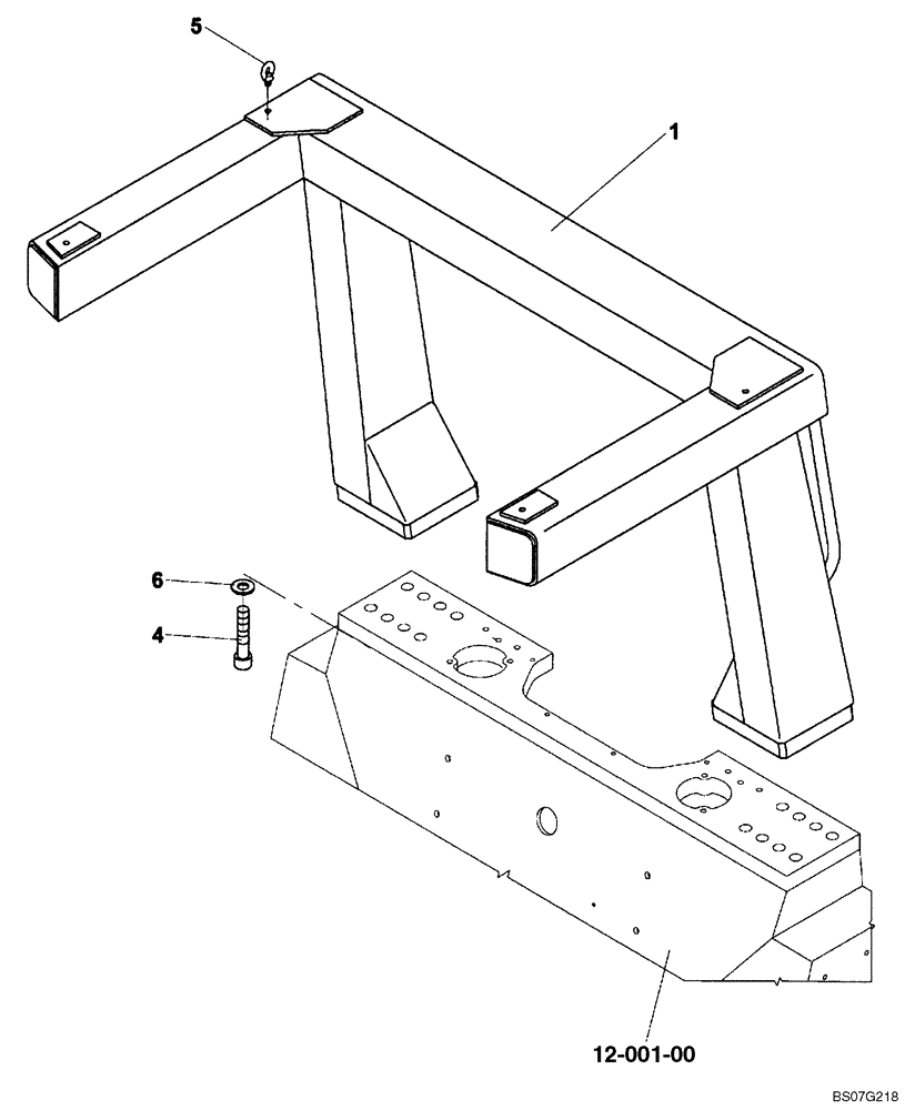
Запчасти Case SV210 (12-021-00[01]) - ROPS INSTALLATION (GROUP 570) (ND104241) (09) - CHASSIS/ATTACHMENTS

Схема запчастей Case SV210 - (12-021-00[01]) - ROPS INSTALLATION (GROUP 570) (ND104241) (09) - CHASSIS/ATTACHMENTS
5
6
1
4
12-001-00
FIT
1:1
100%

Артикул

Название

Примечание

Количество

REF

INSTRUCTION

ROPS INSTALLATION (ND104241) (GROUP 570)

1шт.

1

ND104238

FRAME

1шт.

4

ND024301

BOLT

16шт.

5

ND026171

LIFTING EYE

2шт.

6

ND035944

WASHER

16шт.

Выбрано товаров: 5