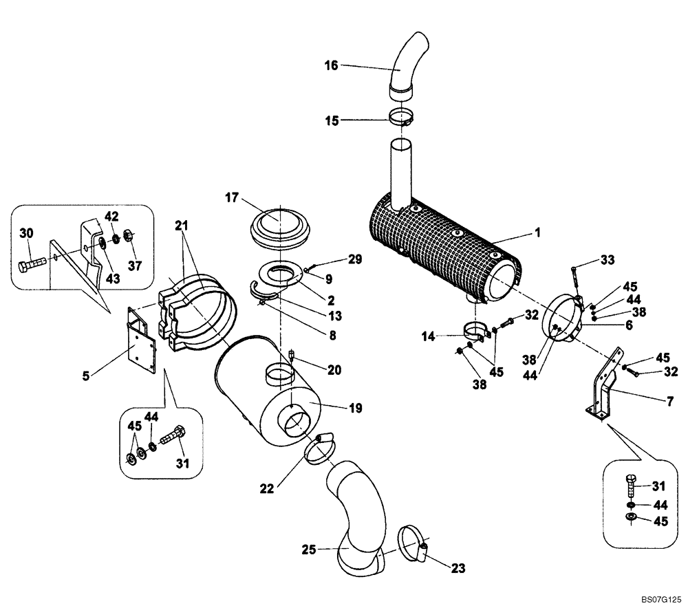
Запчасти Case SV210 (02-005-00[01]) - ENGINE AIR FILTRATION AND EXHAUST (GROUP 135) (ND119558) (02) - ENGINE

Схема запчастей Case SV210 - (02-005-00[01]) - ENGINE AIR FILTRATION AND EXHAUST (GROUP 135) (ND119558) (02) - ENGINE
2
31
31
8
29
9
6
17
38
31
32
16
5
14
38
45
1
21
7
23
22
45
45
44
44
15
45
25
33
37
45
44
42
19
38
44
13
20
43
30
FIT
1:1
100%

Артикул

Название

Примечание

Количество

REF

INSTRUCTION

ENGINE AIR FILTRATION AND EXHAUST (ND119558) (GROUP135)

1шт.

1

ND117915

MUFFLER

MUFFLER

1шт.

2

ND104347

PLATE

1шт.

5

ND104343

SUPPORT

1шт.

6

ND103369

CLAMP

1шт.

7

ND104353

SUPPORT

1шт.

8

ND046952

NUT

M6

2шт.

9

ND046948

WASHER

2шт.

13

ND104348

HOSE CLAMP

1шт.

14

ND116083

CLAMP

1шт.

15

ND098745

CLAMP

1шт.

16

ND106299

EXTENSION

1шт.

17

ND065538

COVER

1шт.

19

ND065526

AIR CLEANER

1шт.

ND102099

AIR FILTER

Not Illustrated

1шт.

ND102100

AIR FILTER

Not Illustrated

1шт.

20

ND065555

SENSOR

Vacuum

1шт.

21

ND065527

CLAMP

2шт.

22

ND069503

CLAMP

1шт.

23

ND069516

CLAMP

1шт.

25

ND123932

ELBOW

Pipe

1шт.

29

ND024236

BOLT

M6 x 40

2шт.

30

ND021295

BOLT

M8 x 25

4шт.

31

ND021302

BOLT

M10 x 25

7шт.

32

ND021195

BOLT

M10 x 35

3шт.

33

ND021206

BOLT

1шт.

37

ND034087

NUT

4шт.

38

ND034088

NUT

4шт.

42

ND035940

SPRING WASHER

ID 8

4шт.

43

ND029249

WASHER

ID 8,4

4шт.

44

ND035941

WASHER

ID 10

10шт.

45

ND029266

WASHER

ID 10

18шт.

Выбрано товаров: 32