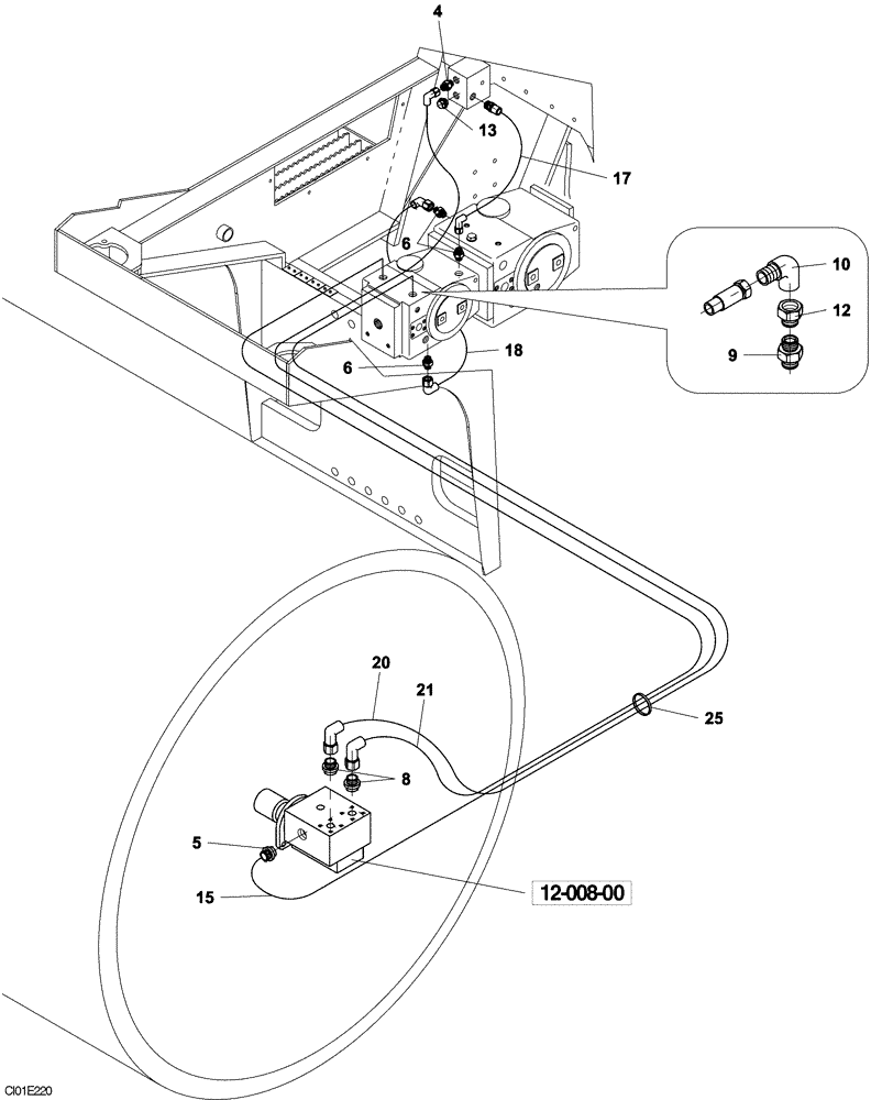
Запчасти Case SV210 (10-002-00[01]) - HYDRAULIC LINES, DRUM VIBRATION (GROUP 320) (ND104262) (08) - HYDRAULICS

Схема запчастей Case SV210 - (10-002-00[01]) - HYDRAULIC LINES, DRUM VIBRATION (GROUP 320) (ND104262) (08) - HYDRAULICS
8
9
4
15
13
12-008-00
21
5
6
6
25
12
17
20
18
10
FIT
1:1
100%

Артикул

Название

Примечание

Количество

REF

INSTRUCTION

HYDRAULIC LINES, DRUM VIBRATOR (ND104262) (GROUP 320)

1шт.

4

ND062140

HYD CONNECTOR

1шт.

5

ND062181

HYD CONNECTOR

1шт.

6

ND062135

HYD CONNECTOR

3шт.

8

ND062129

HYD CONNECTOR

2шт.

9

ND101487

HYD CONNECTOR

2шт.

10

ND062427

HYD CONNECTOR

If Used

2шт.

12

ND062450

HYD CONNECTOR

2шт.

13

ND062420

PLUG

1шт.

15

ND102238

HOSE,3300.00 mm

1шт.

17

ND102233

HOSE,550.00 mm

1шт.

18

ND108310

HOSE

1шт.

20

ND102229

HOSE,2600.00 mm

1шт.

21

ND102228

HOSE,2650.00 mm

1шт.

25

ND106910

STRAP

10шт.

Выбрано товаров: 15