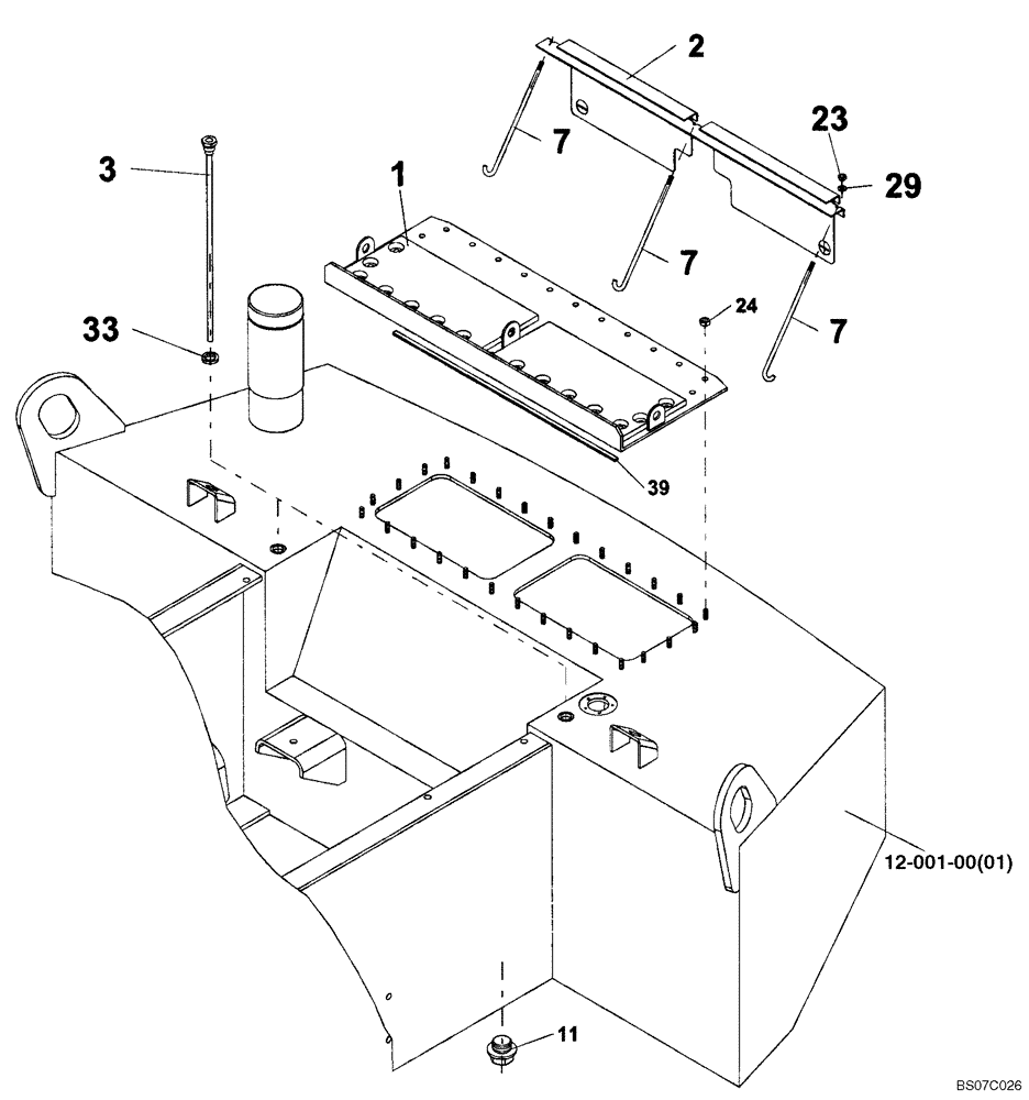
Запчасти Case SV210 (12-001-00[03]) - BATTERY HOLD DOWN & FUEL TANK PARTS (GROUP 473) (ND131884) (09) - CHASSIS/ATTACHMENTS

Схема запчастей Case SV210 - (12-001-00[03]) - BATTERY HOLD DOWN & FUEL TANK PARTS (GROUP 473) (ND131884) (09) - CHASSIS/ATTACHMENTS
23
39
7
29
12-001-00(01)
7
3
7
33
2
24
1
11
FIT
1:1
100%

Артикул

Название

Примечание

Количество

REF

INSTRUCTION

BATTERY HOLD DOWN (ND131884) (GROUP 473)

1шт.

1

ND126748

COVER

1шт.

2

ND112489

SUPPORT

1шт.

3

ND104397

FLEXIBLE HOSE

2шт.

7

ND052503

TIE-ROD

3шт.

11

ND065651

PLUG

1шт.

23

ND034087

NUT

3шт.

24

ND034088

NUT

28шт.

29

ND029249

WASHER

3шт.

33

ND073360

PACKING RING

2шт.

39

ND101584

TAPE

1шт.

Выбрано товаров: 11