Запчасти Case SV210 (12-001-00[06]) - TOOL BOX (GROUP 493) (ND131879) (09) - CHASSIS/ATTACHMENTS

Схема запчастей Case SV210 - (12-001-00[06]) - TOOL BOX (GROUP 493) (ND131879) (09) - CHASSIS/ATTACHMENTS
14
7
21
19
5
2
12
23
6
10
16
1
23
15
22
18
12
22
FIT
1:1
100%

Артикул

Название

Примечание

Количество

REF

INSTRUCTION

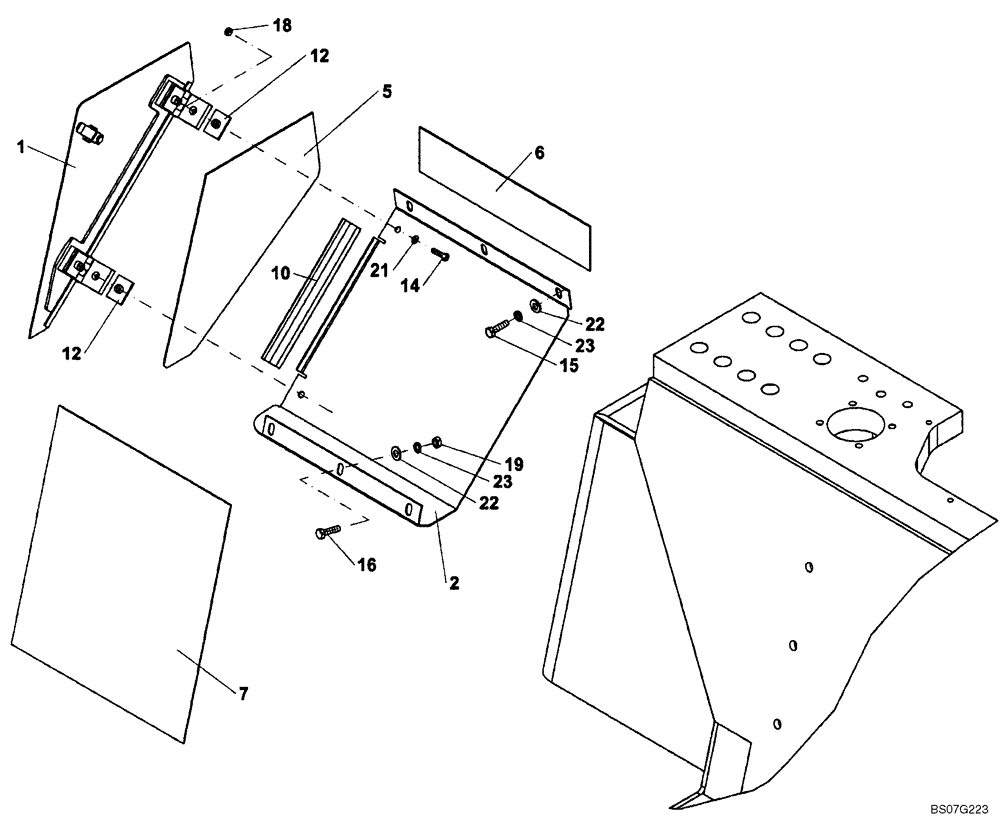
TOOL BOX (ND131879) (GROUP 493)

1шт.

1

REF

INSTRUCTION

DOOR ASSY (ND131902) See Figure 12-001-00 (07) For Service Breakdown

1шт.

2

ND131881

PLATE

MANTLE

1шт.

5

ND131944

PAD

RUBBER

1шт.

6

ND131940

PAD

RUBBER

1шт.

7

ND131942

PAD

RUBBER

1шт.

10

ND131955

PROFILE

RUBBER PROFILE

1шт.

12

ND064831

SUPPORT

2шт.

14

ND021291

BOLT

2шт.

15

ND021293

BOLT

2шт.

16

ND021294

BOLT

2шт.

18

ND021847

NUT

2шт.

19

ND034087

NUT

2шт.

21

ND029282

WASHER

2шт.

22

ND029249

WASHER

2шт.

23

ND035940

SPRING WASHER

4шт.

Выбрано товаров: 16