Качественные детали и логистика
Оригинальные и аналоговые запчасти с доставкой по России, Казахстану и Беларуси
©2022 PartSell ООО "Система" ИНН 2463123282 ОГРН 1212400004838
Центральный офис: г. Красноярск, Академика Киренского, д.87, пом.4
Телефон: 8 (800) 777-65-74 Email: zakaz@partsell.ru
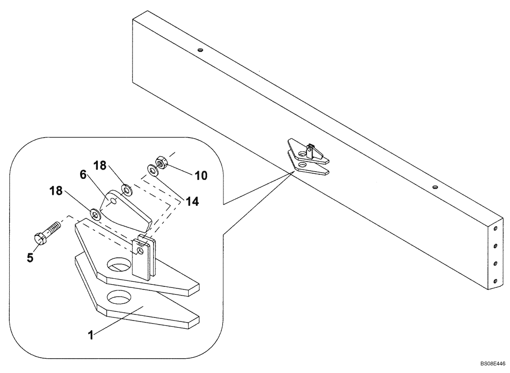
(09-26[01]) - DRAWBAR, FRONT (GROUP 477) (ND131908)
№
Артикул
Название
Примечание
Количество
REF
INSTRUCTION
DRAWBAR, FRONT (ND131908) (GROUP 477)
1шт.
1
NSS
NOT SOLD SEPARAT
SUSPENSION
5
ND122085
BOLT
6
ND048624
PLATE
10
ND027302
NUT
14
ND029250
WASHER
18
ND037213
2шт.
Выбрано товаров: 0