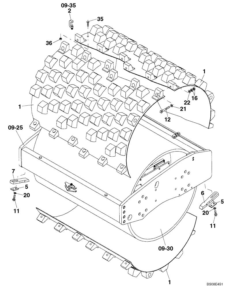
Запчасти Case SV210 (09-34[01]) - SEGMENTS, PAD FOOT ADAPTING (GROUP 560) (ND104268) (09) - CHASSIS/ATTACHMENTS

Схема запчастей Case SV210 - (09-34[01]) - SEGMENTS, PAD FOOT ADAPTING (GROUP 560) (ND104268) (09) - CHASSIS/ATTACHMENTS
22
11
35
20
7
20
36
09-35
1
1
5
09-25
2
12
16
09-30
11
5
21
1
6
FIT
1:1
100%

Артикул

Название

Примечание

Количество

REF

INSTRUCTION

SEGMENTS, PAD FOOT ADAPTING (ND104268) (GROUP 560)

1шт.

1

ND104257

SHELL

3шт.

2

ND054304

CLAMP

See Figure 09-35 (01) For Service Breakdown

8шт.

5

ND104395

PLATE

6шт.

6

ND104345

SCRAPER TOOL

7шт.

7

ND104344

SCRAPER TOOL

7шт.

11

ND021228

BOLT

12шт.

12

ND021236

BOLT

18шт.

16

ND021851

NUT

36шт.

20

ND035943

WASHER

12шт.

21

ND029253

WASHER

54шт.

22

ND029269

WASHER

18шт.

35

ND021228

BOLT

2шт.

36

ND027304

NUT

2шт.

Выбрано товаров: 14