Запчасти Case SV210 (09-60[01]) - VENTILATION, CAB (GROUP 169) (ND137760) (09) - CHASSIS/ATTACHMENTS

Схема запчастей Case SV210 - (09-60[01]) - VENTILATION, CAB (GROUP 169) (ND137760) (09) - CHASSIS/ATTACHMENTS
22
22
10
21
5
2
8
19
21
3
14
12
15
25
13
19
6
7
16
11
9
09-41
25
1
FIT
1:1
100%

Артикул

Название

Примечание

Количество

REF

INSTRUCTION

VENTILATION, CAB (ND137760) (GROUP 169)

1шт.

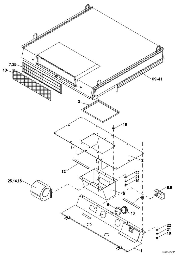
1

ND017873

COVER

Upper

1шт.

2

ND138903

COVER

Roof

1шт.

3

ND106244

FRAME

1шт.

5

ND103120

SUPPORT

Fan

1шт.

6

ND134446

WASHER

2шт.

7

ND136586

SHEET

Steel

1шт.

8

ND065303

ROCKER SWITCH

1шт.

9

ND065317

LENS

1шт.

10

ND137766

FILTER

1шт.

11

ND103220

SEALING STRIP

1шт.

12

ND066078

SEALING STRIP

1шт.

13

ND089999

RING

Louver

2шт.

14

ND102003

FAN

1шт.

15

ND138140

HARNESS

1шт.

16

ND021287

BOLT,M8 x 16

6шт.

19

ND021847

NUT

14шт.

21

ND029309

SPRING WASHER

14шт.

22

ND029248

WASHER

17шт.

25

ND069931

RIVET

5шт.

Выбрано товаров: 20