Качественные детали и логистика
Оригинальные и аналоговые запчасти с доставкой по России, Казахстану и Беларуси
©2022 PartSell ООО "Система" ИНН 2463123282 ОГРН 1212400004838
Центральный офис: г. Красноярск, Академика Киренского, д.87, пом.4
Телефон: 8 (800) 777-65-74 Email: zakaz@partsell.ru
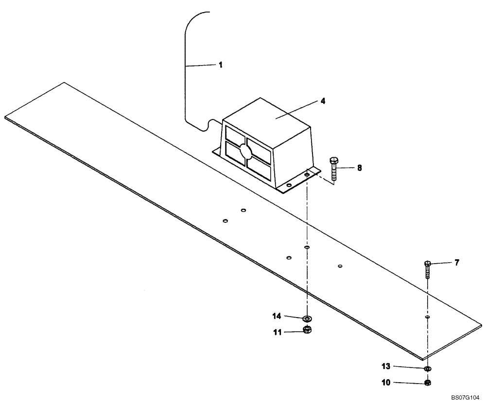
(04-13[01]) - ALARM, BACK UP- BSN NCNTB2042
№
Артикул
Название
Примечание
Количество
REF
INSTRUCTION
BACK-UP ALARM (ND120305) (GROUP 415)
1шт.
1
ND120320
HARNESS
4
ND064455
HORN
7
ND021289
BOLT
3шт.
8
ND021294
4шт.
10
ND027300
NUT
11
ND027301
13
ND029248
WASHER
14
ND029249
Выбрано товаров: 0