Запчасти Case SV210 (08-13[01]) - CYLINDER, HYDRAULIC HOOD LIFT LH (GROUP 381-2) (ND139596) (08) - HYDRAULICS

Схема запчастей Case SV210 - (08-13[01]) - CYLINDER, HYDRAULIC HOOD LIFT LH (GROUP 381-2) (ND139596) (08) - HYDRAULICS
22
4a
23
8
32
36
38
33
30
4
29
4a
08-08
09-66
4
7
7
8
30
38
10
29
7
29
7
36
33
31
32
14
29
17
21
21
31
FIT
1:1
100%

Артикул

Название

Примечание

Количество

REF

INSTRUCTION

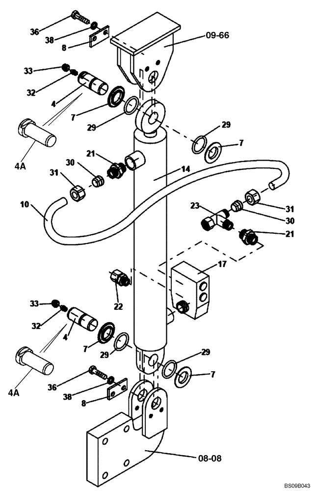
CYLINDER, HYDRAULIC HOOD LIFT LH (ND139596) (GROUP 381-2)

1шт.

4

ND049262

PIN

If Used

2шт.

4a

ND142373

HEADED PIN

If Used

2шт.

7

ND049260

INSERT

4шт.

8

ND049268

COVER PLATE

2шт.

10

ND139635

PIPE

1шт.

14

ND138504

HYDRAULIC CYLINDER

For Seal Kit see 39

1шт.

17

ND067918

VALVE

Holding

1шт.

21

ND062200

HYD CONNECTOR

2шт.

22

ND062221

HYD CONNECTOR

1шт.

23

ND062326

HYD CONNECTOR

1шт.

29

ND079727

O-RING

4шт.

30

ND062038

SEAL

2шт.

31

ND062045

NUT

2шт.

32

ND070133

LUBE NIPPLE,M10 x 1

If Used

2шт.

33

ND064758

PLUG

2шт.

36

ND021292

BOLT

4шт.

38

ND035940

SPRING WASHER

4шт.

39

ND106595

SEAL KIT

1шт.

Выбрано товаров: 0