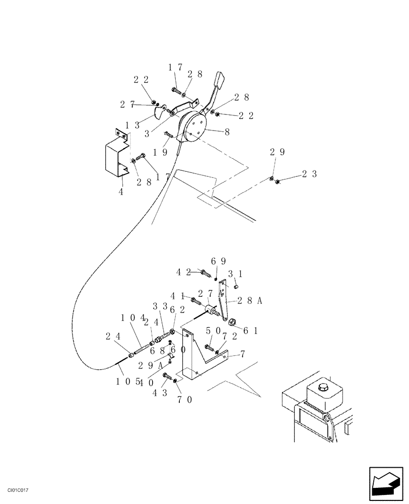
Запчасти Case SV212 (03-002-00[01]) - ENGINE ACCELERATION (03) - FUEL SYSTEM

Схема запчастей Case SV212 - (03-002-00[01]) - ENGINE ACCELERATION (03) - FUEL SYSTEM
24
17
33
43
8
29
29a
17
70
50
4
22
28
22
19
40
69
24
27a
104
28
7
28
31
60
3
105
62
68
23
61
72
27
13
41
28a
42
FIT
1:1
100%

Артикул

Название

Примечание

Количество

3

ND052690

SUPPORT

1шт.

4

ND031144

COVER

1шт.

7

ND017786

SUPPORT

1шт.

8

ND050785

LEVER

1шт.

13

ND050565

PLATE

1шт.

17

ND023791

BOLT

M5 x 12

3шт.

19

ND024381

SCREW

M6 x 16

4шт.

22

ND021846

NUT

M5

2шт.

23

ND027300

NUT

M6

4шт.

24

ND054267

SLEEVE

2шт.

27

ND029308

WASHER

ID 5,1

1шт.

27a

ND050648

PIVOT

1шт.

28

ND029247

WASHER

ID 5,3

4шт.

28a

ND029881

LEVER

1шт.

29

ND029248

WASHER

ID 6,4

4шт.

29a

ND098399

CLAMP

1шт.

31

ND053025

STOP

1шт.

33

ND050635

SCREW

1шт.

40

ND023784

BOLT

M4 x 12

1шт.

41

ND023789

SCREW

M5 x 8

1шт.

42

ND021286

BOLT

M6 x 10

2шт.

43

ND021293

BOLT

M8 x 16

3шт.

50

ND021309

BOLT,M12 x 25

M12 x 25

8шт.

60

ND026413

NUT

M4

1шт.

61

ND021847

NUT

M6

2шт.

62

ND021848

NUT

M8

3шт.

68

ND029306

WASHER

ID4,1

1шт.

69

ND029309

SPRING WASHER

ID 6,1

2шт.

70

ND035940

SPRING WASHER

ID 8

6шт.

72

ND035942

WASHER

ID 12

20шт.

104

ND076335

CABLE

3000mm

1шт.

105

ND076337

CABLE

3300mm

1шт.

Выбрано товаров: 32