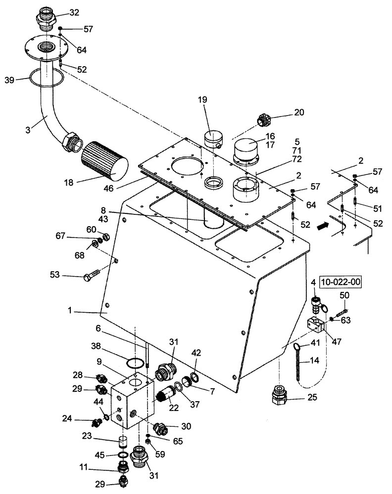
Запчасти Case SV212 (10-001-00[01]) - HYDRAULIC RESERVOIR - IF USED (08) - HYDRAULICS

Схема запчастей Case SV212 - (10-001-00[01]) - HYDRAULIC RESERVOIR - IF USED (08) - HYDRAULICS
72
41
57
2
52
7
20
30
59
65
50
24
52
57
67
52
38
32
46
60
29
9
53
14
2
64
42
64
44
57
11
23
63
8
31
47
5
16
18
17
1
3
71
31
19
25
68
37
39
6
28
4
43
51
22
45
64
29
FIT
1:1
100%

Артикул

Название

Примечание

Количество

1

ND103108

TANK

1шт.

2

ND030904

COVER

1шт.

3

ND030900

FLEXIBLE HOSE

1шт.

4

ND098322

HYD CONNECTOR

1шт.

5

ND054246

BOLT

1шт.

6

ND103189

ROD

4шт.

7

ND103190

PLUG

1шт.

8

ND054261

SLEEVE

1шт.

9

ND103126

VALVE BLOCK (USED)

1шт.

11

ND052876

HYD CONNECTOR

1шт.

14

ND103192

LINK CHAIN

1шт.

16

ND065471

CAP

1шт.

17

ND065473

ADAPTER

1шт.

18

ND067790

FILTER STRAINER

1шт.

19

ND064905

LEVEL GAUGE

1шт.

20

ND070150

LEVEL GAUGE

1шт.

22

ND102098

THERMOSTAT

1шт.

23

ND067788

VALVE

1шт.

24

ND098754

SENDER UNIT

Hyd Oil Temp

1шт.

25

ND067773

COCK

1шт.

28

ND062154

HYD CONNECTOR

1шт.

29

ND062140

HYD CONNECTOR

2шт.

30

ND062161

HYD CONNECTOR

1шт.

31

ND062162

HYD CONNECTOR

2шт.

32

ND062185

HYD CONNECTOR

1шт.

37

ND079933

O-RING

1шт.

38

ND079937

O-RING

1шт.

39

ND079938

O-RING

11шт.

41

ND073401

RING

1шт.

42

ND102045

SNAP RING

34

1шт.

43

ND069890

SNAP RING

72

2шт.

44

ND073356

PACKING RING

14 x 18 x 1,5

1шт.

45

ND073363

O-RING

27 x 32 x 2

1шт.

46

ND103221

SEALING STRIP

1500mm

1шт.

47

ND064814

CLAMP

1шт.

50

ND024234

BOLT

M6 x 30

2шт.

51

ND106607

STUD

2шт.

Serial Number : DDD0001010 And After

1шт.

52

ND021710

STUD

M6 x 20

26шт.

Serial Number : Until DDD0001009

1шт.

52

ND021710

STUD

M6 x 20

24шт.

Serial Number : DDD0001010 And After

1шт.

53

ND021208

BOLT

M12 x 40

6шт.

Serial Number : DDD0001001 And After

1шт.

53

ND021311

BOLT

6шт.

Serial Number : DDD0001001 And After

1шт.

57

ND021847

NUT

M6

26шт.

59

ND021848

NUT

M8

4шт.

60

ND021850

NUT

M12

6шт.

63

ND029248

WASHER

ID 6,4

2шт.

64

ND029309

SPRING WASHER

ID 6,1

26шт.

65

ND035940

SPRING WASHER

ID 8

4шт.

67

ND035942

WASHER

ID 12

6шт.

68

ND029251

WASHER

ID 13

6шт.

71

ND037453

LEADSEAL

1шт.

72

ND100090

CABLE

1шт.

Выбрано товаров: 56