Качественные детали и логистика
Оригинальные и аналоговые запчасти с доставкой по России, Казахстану и Беларуси
©2022 PartSell ООО "Система" ИНН 2463123282 ОГРН 1212400004838
Центральный офис: г. Красноярск, Академика Киренского, д.87, пом.4
Телефон: 8 (800) 777-65-74 Email: zakaz@partsell.ru
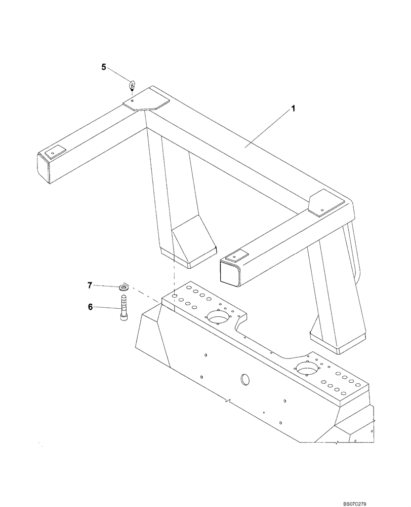
(12-021-00[01]) - CHASSIS - ROPS INSTALLATION (GROUP 570) (ND011814)
№
Артикул
Название
Примечание
Количество
ROPS INSTALLATION (ND011814) (GROUP 570)
1шт.
1
ND011776
FRAME
5
ND026171
LIFTING EYE
M12 BOLT
2шт.
6
ND024304
BOLT
M24 x 80 BOLT
16шт.
7
ND035946
SPRING WASHER
SPRING
Выбрано товаров: 0