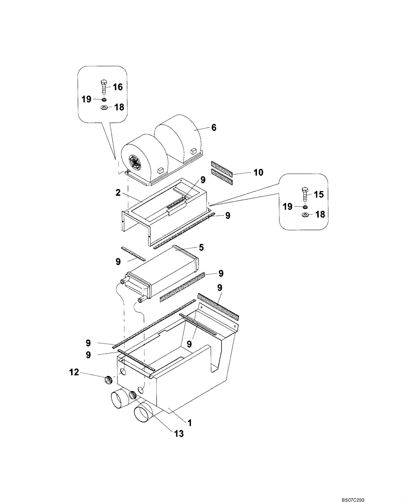
Запчасти Case SV212 (12-022-03[01]) - CHASSIS - PLATFORM - HEATING UNIT (GROUP 600-1) (ND126713) (09) - CHASSIS/ATTACHMENTS

Схема запчастей Case SV212 - (12-022-03[01]) - CHASSIS - PLATFORM - HEATING UNIT (GROUP 600-1) (ND126713) (09) - CHASSIS/ATTACHMENTS
9
13
5
9
19
6
15
18
19
12
9
10
9
9
1
16
18
9
2
9
9
FIT
1:1
100%

Артикул

Название

Примечание

Количество

HEATER (ND126713) (GROUP 600-1)

1шт.

1

ND018516

BOX

COVER

1шт.

2

ND031959

SUPPORT

HOLDER

1шт.

5

ND108146

HEAT-EXCHANGER

1шт.

6

ND064881

BLOWER

COOLING AIR

1шт.

9

ND100156

TAPE

1шт.

10

ND126831

TAPE

FOAM

1шт.

12

ND079519

GROMMET

1шт.

13

ND079513

GROMMET

1шт.

15

ND110230

BOLT

BOLT

2шт.

16

ND021285

BOLT

4шт.

18

ND029289

WASHER

FOR WOOD

6шт.

19

ND029308

WASHER

SPRING

6шт.

Выбрано товаров: 13