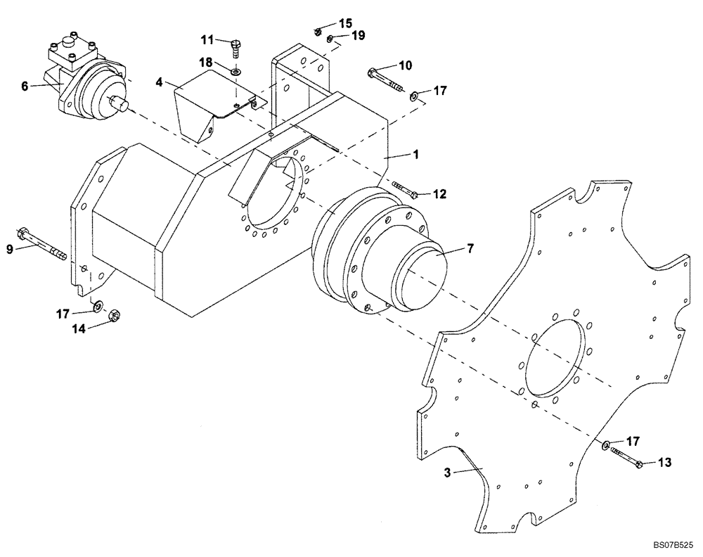
Запчасти Case SV212 (07-001-00[02]) - TRANSMISSION - FRONT DRUM DRIVE - IF USED (GROUP 32) (ND106516) (06) - POWER TRAIN

Схема запчастей Case SV212 - (07-001-00[02]) - TRANSMISSION - FRONT DRUM DRIVE - IF USED (GROUP 32) (ND106516) (06) - POWER TRAIN
FIT
1:1
100%

Артикул

Название

Примечание

Количество

FRONT DRUM DRIVE (ND106516) (GROUP 32)

1шт.

1

ND106522

SUPPORT

1шт.

3

ND012092

CARRIER

1шт.

4

ND018634

COVER

1шт.

6

ND090920

HYDRAULIC MOTOR

1шт.

7

ND090943

GEAR REDUCTION UNIT

1шт.

9

ND021243

BOLT

M20 x 70

12шт.

10

ND021241

BOLT

M20 x 60

16шт.

11

ND021328

BOLT

M16 x 25

1шт.

12

ND021211

BOLT

M12 x 60

2шт.

13

ND021344

BOLT

16шт.

14

ND021853

NUT

M20

12шт.

15

ND021850

NUT

M12

2шт.

17

ND035944

WASHER

ID 20

44шт.

18

ND035943

WASHER

ID 16

3шт.

19

ND035942

WASHER

ID 12

2шт.

Выбрано товаров: 16