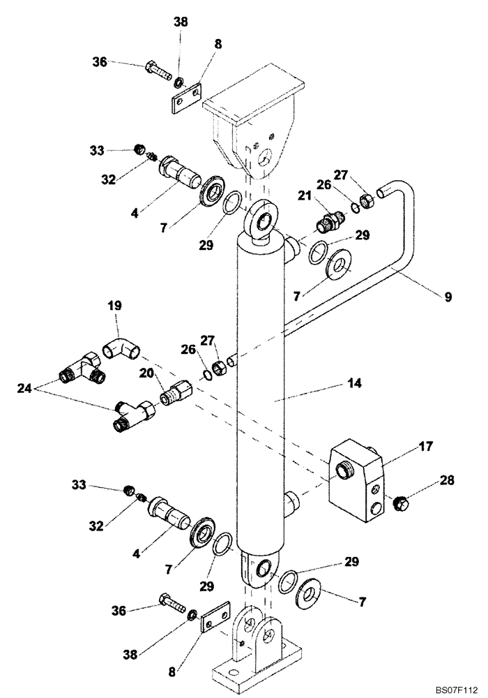
Запчасти Case SV212 (35.900.04) - CYLINDER, HYDRAULIC HOOD LIFT LH - BSN NBNTC3096 (35) - HYDRAULIC SYSTEMS

Схема запчастей Case SV212 - (35.900.04) - CYLINDER, HYDRAULIC HOOD LIFT LH - BSN NBNTC3096 (35) - HYDRAULIC SYSTEMS
33
32
7
4
4
7
28
38
32
24
9
26
36
27
17
20
36
14
29
29
26
33
8
7
19
29
7
38
27
21
8
29
FIT
1:1
100%

Артикул

Название

Примечание

Количество

REF

INSTRUCTION

CYLINDER, HYDRAULIC HOOD LIFT LH(ND103131) (GROUP 382-2)

1шт.

4

ND049262

PIN

2шт.

7

ND049260

INSERT

4шт.

8

ND049268

COVER PLATE

2шт.

9

ND120348

PIPE

1шт.

14

ND068121

CYLINDER

1шт.

17

ND067918

VALVE

Holding

1шт.

19

ND062493

HYD CONNECTOR

Banjo

1шт.

20

ND134070

HYD CONNECTOR

1шт.

21

ND062200

HYD CONNECTOR

1шт.

24

ND062313

HYD CONNECTOR

2шт.

26

ND062038

SEAL

6 x 40

2шт.

27

ND062045

NUT

CAP NUT

2шт.

28

ND062378

PLUG

1шт.

29

ND079727

O-RING

33 x 2,5

4шт.

32

ND070133

LUBE NIPPLE,M10 x 1

2шт.

33

ND064758

PLUG

2шт.

36

ND021292

BOLT

M8 x 12

4шт.

38

ND035940

SPRING WASHER

ID 8

4шт.

Выбрано товаров: 0