Запчасти Case SV212 (35.910.08) - LINES, VIBRATORY DRUM - BTW DDD001149 - DDD003016 (35) - HYDRAULIC SYSTEMS

Схема запчастей Case SV212 - (35.910.08) - LINES, VIBRATORY DRUM - BTW DDD001149 - DDD003016 (35) - HYDRAULIC SYSTEMS
35.910.34
30
18
48
20
26
20
14
34
27
34
21
16
12
3
29
13
15
24
21
14
15
FIT
1:1
100%

Артикул

Название

Примечание

Количество

REF

INSTRUCTION

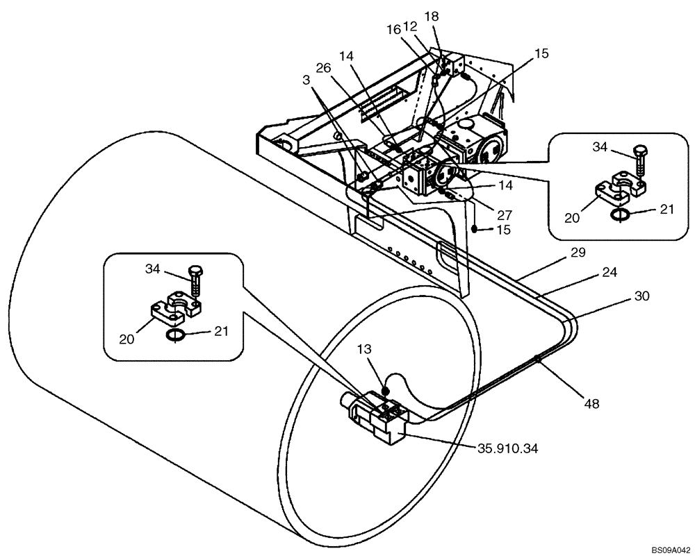
LINES, VIBRATORY DRUM (ND134475) (GROUP 325)

1шт.

3

ND053294

SNAP RING

2шт.

12

ND062109

HYD CONNECTOR

1шт.

13

ND062181

HYD CONNECTOR

1шт.

14

ND062138

HYD CONNECTOR

2шт.

15

ND062135

HYD CONNECTOR

2шт.

16

ND062367

HYD CONNECTOR

1шт.

18

ND062378

PLUG

1шт.

20

ND062008

HALF-COLLAR

8шт.

21

ND079933

O-RING

4шт.

24

ND134481

HOSE

1шт.

26

ND061516

HOSE,550.00 mm

1шт.

27

ND061517

HOSE,750.00 mm

2шт.

29

ND133283

HOSE

1шт.

30

ND133282

HOSE

1шт.

34

ND034059

BOLT

16шт.

48

ND106910

STRAP

10шт.

Выбрано товаров: 0