Запчасти Case SV212 (39.100.06) - TOOL BOX (39) - FRAMES AND BALLASTING

Схема запчастей Case SV212 - (39.100.06) - TOOL BOX (39) - FRAMES AND BALLASTING
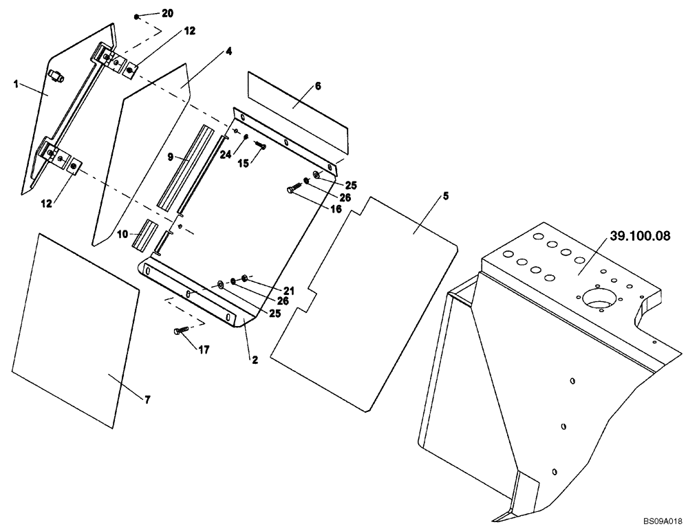
1
12
4
21
2
9
7
16
12
20
24
26
25
15
17
6
26
5
25
39.100.08
FIT
1:1
100%

Артикул

Название

Примечание

Количество

REF

INSTRUCTION

TOOL BOX (ND126696) (GROUP 493)

1шт.

1

ND126732

DOOR

1шт.

2

ND126695

PLATE

Plate, Formed

1шт.

4

ND125528

RUBBER

1шт.

5

ND125529

RUBBER

1шт.

6

ND125531

RUBBER

1шт.

7

ND125530

RUBBER

1шт.

9

ND126778

PLATE

1шт.

10

ND126779

PLATE

1шт.

12

ND064831

SUPPORT

2шт.

15

ND021291

BOLT

2шт.

16

ND021293

BOLT

3шт.

17

ND021294

BOLT

3шт.

20

ND021847

NUT

2шт.

21

ND034087

NUT

6шт.

24

ND029282

WASHER

2шт.

25

ND029249

WASHER

6шт.

26

ND035940

SPRING WASHER

6шт.

Выбрано товаров: 0