Запчасти Case SV212 (10.202.01) - AIR CLEANER, ENGINE (GROUP 136) (ND131863) (10) - ENGINE

Схема запчастей Case SV212 - (10.202.01) - AIR CLEANER, ENGINE (GROUP 136) (ND131863) (10) - ENGINE
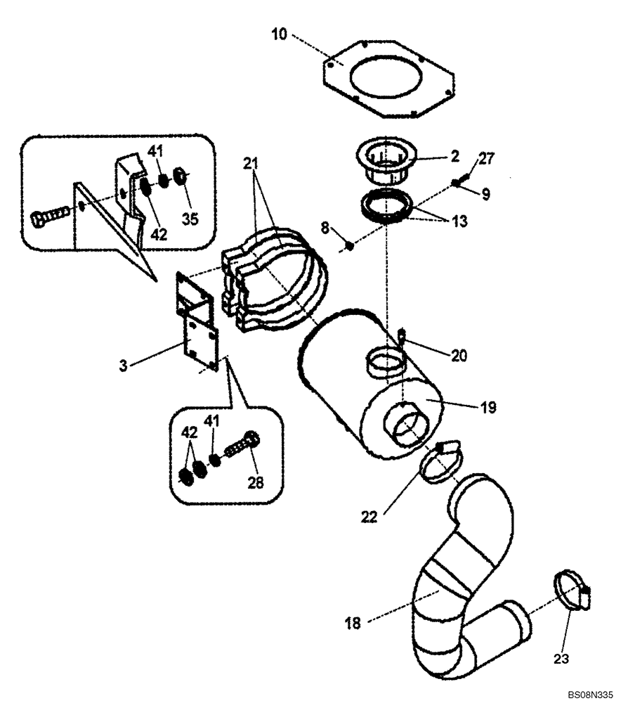
3
19
21
20
28
27
8
2
9
10
41
35
42
42
22
18
13
23
41
FIT
1:1
100%

Артикул

Название

Примечание

Количество

REF

INSTRUCTION

AIR CLEANER, ENGINE (ND131863) (GROUP 136)

1шт.

2

ND133982

HOSE CLIP

1шт.

3

ND133975

BRACKET, SUPPORTING

Filter Holder

1шт.

8

ND133516

NUT

2шт.

9

ND133515

WASHER

2шт.

10

ND133981

MOUNTING PLATE

Steel

1шт.

13

ND133978

TUBE SPACER

2шт.

18

ND133979

ELBOW UNION

Union Elbow

1шт.

19

ND133431

AIR CLEANER

1шт.

19-1

ND133433

AIR FILTER

Outer, not illustrated

1шт.

19-2

ND133434

AIR FILTER

Inner, not illustrated

1шт.

20

ND065567

INDICATOR

1шт.

21

ND133432

COLLAR CLAMP

2шт.

22

ND133951

HOSE CLAMP

1шт.

23

ND133325

HOSE CLAMP

1шт.

27

ND024248

BOLT

2шт.

28

ND021302

BOLT

4шт.

35

ND034088

NUT

4шт.

41

ND035941

WASHER

8шт.

42

ND029266

WASHER

14шт.

Выбрано товаров: 20