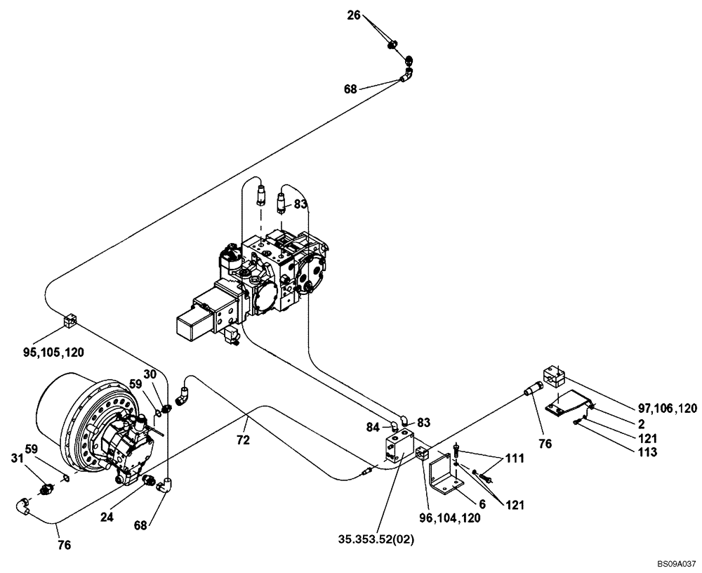
Запчасти Case SV212 (35.353.02[02]) - HYDRAULIC SYSTEM OF TRAVEL, DRUM (ACE) - ASN DDD003016 (35) - HYDRAULIC SYSTEMS

Схема запчастей Case SV212 - (35.353.02[02]) - HYDRAULIC SYSTEM OF TRAVEL, DRUM (ACE) - ASN DDD003016 (35) - HYDRAULIC SYSTEMS
24
97
120
95
76
83
35.353.52(02)
106
59
120
96
121
72
68
104
59
31
76
111
113
120
105
68
84
6
26
2
83
30
121
FIT
1:1
100%

Артикул

Название

Примечание

Количество

REF

INSTRUCTION

HYDRAULIC SYSTEM OF TRAVEL, DRUM (ND142122) (GROUP 306) (ACE)

1шт.

2

ND142148

BRACKET

1шт.

6

ND144902

HOLDER

HOLDER, Replaces ND139614 Holder Used On Some Models

1шт.

24

ND062199

HYD CONNECTOR

1шт.

26

ND062153

HYD CONNECTOR

2шт.

31

ND139010

HYD CONNECTOR

1шт.

59

ND079939

O-RING

2шт.

68

ND136967

HOSE

2шт.

72

ND138446

HOSE

1шт.

76

ND136968

HOSE

1шт.

83

ND139991

HOSE

1шт.

84

ND139992

HOSE

1шт.

95

ND064799

CLAMP

1шт.

96

ND061999

CLAMP

If Used

1шт.

97

ND064810

SLEEVE

1шт.

104

ND024233

BOLT

2шт.

105

ND024235

BOLT

2шт.

106

ND024236

BOLT

2шт.

111

ND021301

BOLT

2шт.

113

ND021197

BOLT

2шт.

120

ND029248

WASHER

6шт.

121

ND035941

WASHER

4шт.

Выбрано товаров: 22