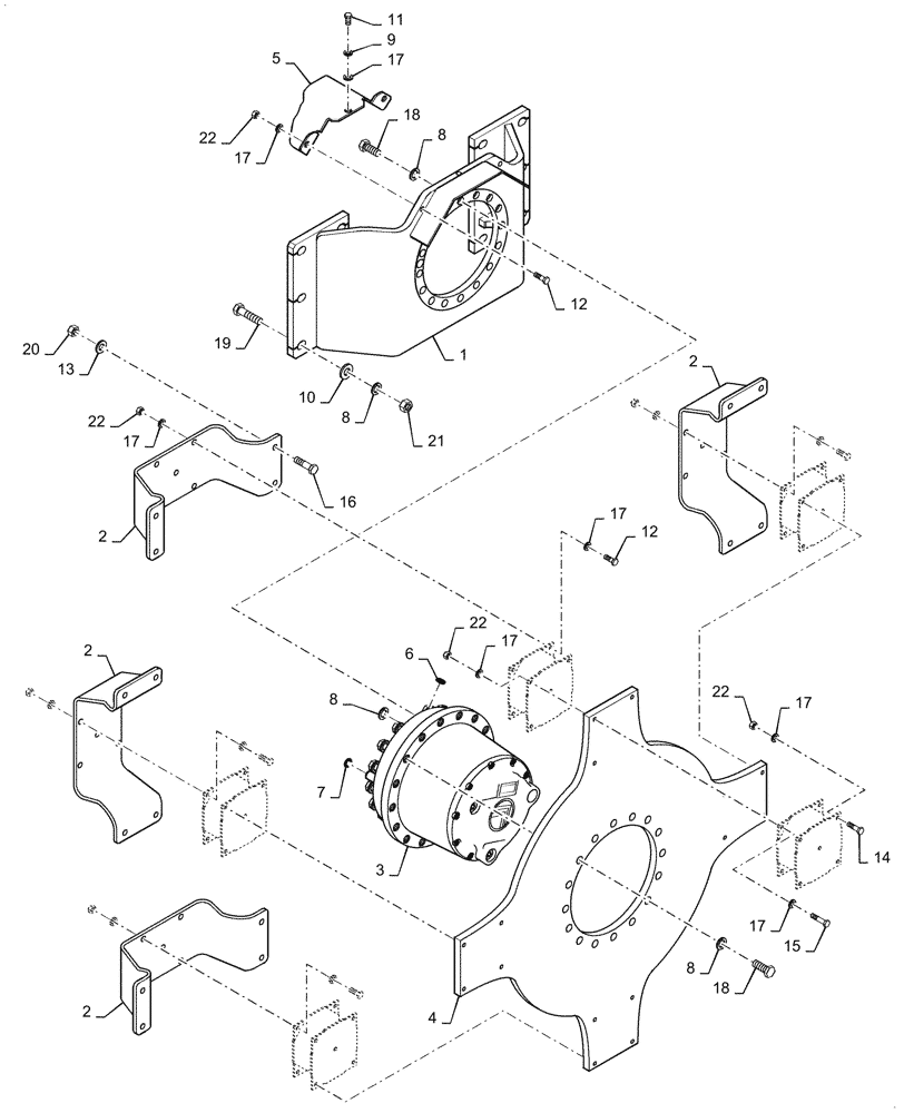
Запчасти Case SV212 (35.353.10[03]) - DRUM DRIVE ASSY, FRONT (35) - HYDRAULIC SYSTEMS

Схема запчастей Case SV212 - (35.353.10[03]) - DRUM DRIVE ASSY, FRONT (35) - HYDRAULIC SYSTEMS
11
10
16
12
17
17
17
7
15
3
22
21
1
18
8
17
4
2
20
9
19
13
14
8
6
5
17
17
22
2
2
18
22
17
8
2
8
12
22
FIT
1:1
100%

Артикул

Название

Примечание

Количество

1

48141490

BRACKET

1шт.

2

84419863

BRACKET

4шт.

3

48141491

Reduction

GEAR SET

1шт.

3

48142012

SEAL KIT

1шт.

4

84419985

MOUNTING PLATE

1шт.

5

84419988

SHIELD

1шт.

6

ND073334

PACKING RING

1шт.

7

ND073330

PACKING RING

1шт.

8

ND035944

WASHER

42шт.

9

ND035942

WASHER

1шт.

10

84419906

WASHER

8шт.

11

ND021309

BOLT,M12 x 25

1шт.

12

ND021312

BOLT

18шт.

13

ND035827

WASHER

16шт.

14

ND021210

BOLT

16шт.

15

ND021315

BOLT

16шт.

16

ND021229

BOLT

32шт.

17

ND029267

WASHER

83шт.

18

ND021343

BOLT

32шт.

19

ND021245

BOLT

8шт.

20

47713279

NUT

16шт.

21

ND021853

NUT

8шт.

22

ND034086

NUT

50шт.

Выбрано товаров: 23