Запчасти Case SV212 (35.353.25[01]) - VALVE INSTALLATION, ANTI-SLIP - ASN DDD03016 (35) - HYDRAULIC SYSTEMS

Схема запчастей Case SV212 - (35.353.25[01]) - VALVE INSTALLATION, ANTI-SLIP - ASN DDD03016 (35) - HYDRAULIC SYSTEMS
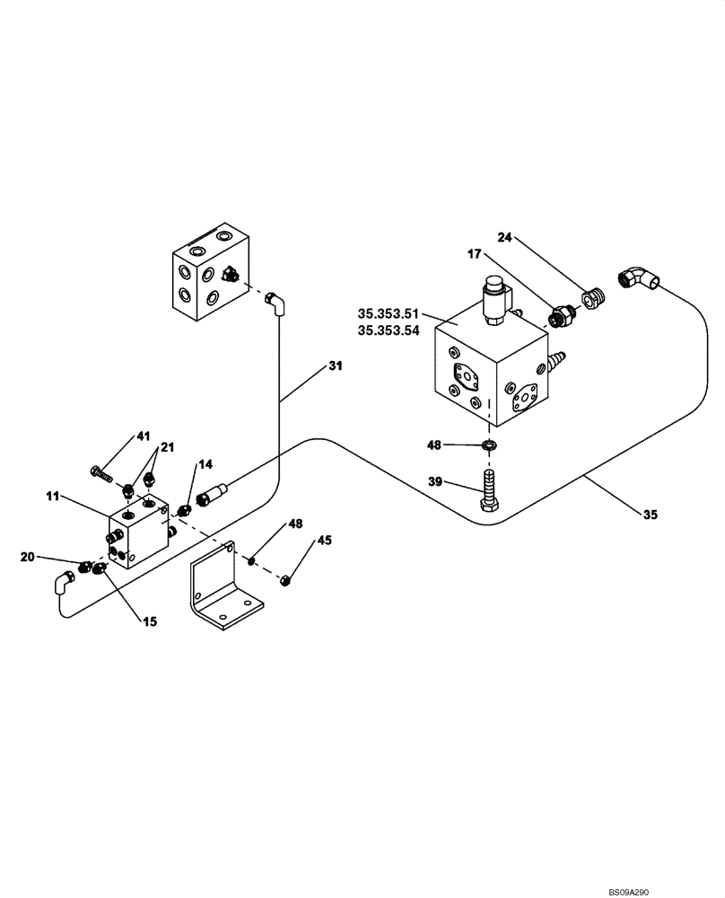
35.353.51
48
31
20
21
17
15
41
24
48
14
18
45
35
39
11
35.353.54
FIT
1:1
100%

Артикул

Название

Примечание

Количество

REF

INSTRUCTION

VALVE INSTAL (ND142124) (GROUP 319)

1шт.

11

ND137828

VALVE

, Serial Range: -NENTC3563

1шт.

11

47717679

SOLENOID VALVE

, Start Serial: NENTC3564

1шт.

14

ND062220

HYD CONNECTOR

1шт.

15

ND062158

HYD CONNECTOR

, Serial Range: -DNTC3515

1шт.

15

ND062145

HYD CONNECTOR

, Start Serial: DNTC3516

1шт.

17

ND136615

HYD CONNECTOR

1шт.

18

ND062154

HYD CONNECTOR

1шт.

20

ND062173

HYD CONNECTOR

1шт.

21

ND138461

HYD CONNECTOR

2шт.

24

ND062487

REDUCER FITTING

1шт.

31

ND139998

HOSE

1шт.

35

ND139997

HOSE

1шт.

39

ND021301

BOLT

4шт.

41

ND021204

BOLT

2шт.

45

ND021849

NUT

2шт.

48

ND035941

WASHER

6шт.

Выбрано товаров: 0