Запчасти Case 2050M WT/LGP (55.680.AA[02]) - BLADE GUIDE, TRIMBLE READY (55) - ELECTRICAL SYSTEMS

Схема запчастей Case 2050M WT/LGP - (55.680.AA[02]) - BLADE GUIDE, TRIMBLE READY (55) - ELECTRICAL SYSTEMS
20
10
16
2
3
7
19
8
21
3
13
15
22
12
18
1
23
6
9
5
2
16
11
17
4
14
1
FIT
1:1
100%

Артикул

Название

Примечание

Количество

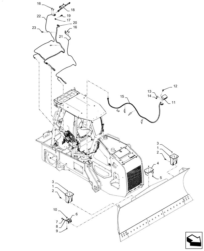
1

47411774

BRACKET

Trimble DZ Side Mast

2шт.

2

87698849

BOLT,M16 x 50mm, Cl 10.9

8шт.

3

9706687

BOLT,M12 x 1.75 x 30mm, Cl 8.8

12шт.

4

47411775

BRACKET

Trimble DZ Center Mast

1шт.

5

86981487

BOLT,Flange, M12 x 35mm, Full, Cl 10.9 DOR

4шт.

6

47411778

BRACKET

Trimble DZ Slope Sensor

1шт.

7

43248

BOLT,Hex, M10 x 1.5 x 40mm, Cl 10.9

2шт.

8

892-11010

LOCK WASHER,M10

2шт.

9

88542

BOLT,Hex, 1/4"-20 x 1/2", Gr 5

4шт.

10

87310307

CROWN NUT,Crown, 1/4"-20

4шт.

11

47411781

BRACKET

Trimble DZ Quicks

1шт.

12

86511841

BOLT,Flng, M8 x 1.25 x 16mm, Full Thd, Cl 8.8

2шт.

13

86624184

WASHER,9mm ID x 16mm OD x 1.6mm Thk

2шт.

14

43362

NUT,M8 x 1.25, Cl 10

2шт.

15

47411793

WIRE HARNESS

Trimble 5M Exten

1шт.

16

L11541

CABLE TIE,203.2mm L, Nylon

Nylon

8шт.

17

86624176

WASHER,11mm ID x 20mm OD x 2mm Thk

1шт.

18

47411780

BRACKET

Trimble DZ Radio

1шт.

19

43139

BOLT,M10 x 1.5 x 25mm, Cl 8.8

1шт.

20

47411795

WIRE HARNESS

Trimble DZ Radio Cab

1шт.

21

47467617

ANTENNA

Trimble WIFI Cab

1шт.

22

47467618

ANTENNA

Trimble GPS With Cell Cab

1шт.

23

87035382

CLAMP,30.2mm, Coat, 10.3mm Bolt Hole, P Type

3шт.

Выбрано товаров: 23