Запчасти Case 2050M WT/LGP (35.359.AG) - CONTROL VALVE ASSEMBLY, 4SPOOL (35) - HYDRAULIC SYSTEMS

Схема запчастей Case 2050M WT/LGP - (35.359.AG) - CONTROL VALVE ASSEMBLY, 4SPOOL (35) - HYDRAULIC SYSTEMS
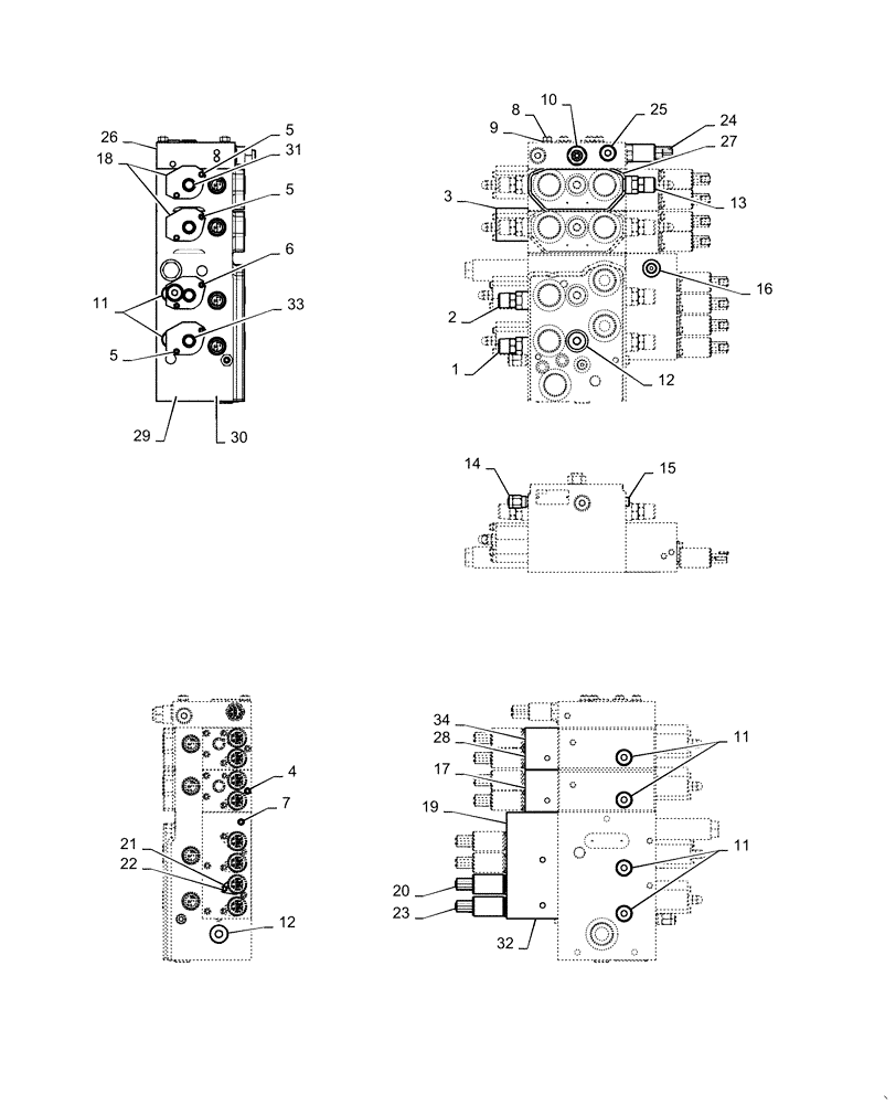
5
8
29
6
2
30
7
3
20
5
12
15
5
14
27
16
13
25
9
10
17
4
11
26
28
34
23
11
32
21
19
18
12
22
11
1
24
33
31
FIT
1:1
100%

Артикул

Название

Примечание

Количество

1

87516585

COVER

Pilot Tilt

1шт.

2

87516587

COVER

Pilot Lift

1шт.

3

87516586

COVER

Pilot Angle & Ripper

2шт.

4

864-5050

HEX SOC SCREW,M5 x 50mm, Cl 8.8

6шт.

5

87657975

HEX SOC SCREW,M5 x 55mm, Cl 8.8

6шт.

6

14301521

HEX SOC SCREW,M5 x 60mm, Cl 8.8

2шт.

7

87518268

SCREW,M5 x 80mm, Gr 8.8

5шт.

8

87516596

STUD,M8 x 120mm, Cl 10.9

4шт.

9

83990583

LOCK WASHER,M8 x 14.8mm OD x 2.1mm Thk

4шт.

10

47505632

VALVE

Spike Clipper

1шт.

11

8604567

VALVE, CHECK

6шт.

12

87516612

PLUG

5шт.

13

47358908

VALVE

8шт.

14

8602925

VALVE PRESSURE RELIE

1шт.

15

87613469

HYDRAULIC VALVE

Flow Limiting

1шт.

16

47358929

VALVE

Counter Balance

1шт.

17

8604582

RETAINER

Spring Valve

4шт.

18

87516617

SPRING

8шт.

19

47359000

COVER

1шт.

20

47359003

VALVE

7шт.

21

47359007

PLATE

8шт.

22

14304621

SCREW,M5 x 14mm, Cl 8.8, Full Thd

8шт.

23

47359011

VALVE

1шт.

24

87516636

HYDRAULIC VALVE

Safety Valve

1шт.

25

87362307

CHECK VALVE

1шт.

26

47358947

COVER

End Cover

1шт.

27

47358947

COVER

1шт.

28

8604582

RETAINER

Spring M6 Valve

4шт.

29

47359013

SEAL KIT

1шт.

30

47359016

SEAL KIT

2шт.

31

87311984

RETAINER

Spring

4шт.

32

87311985

SPRING

1шт.

33

87311986

RING

1шт.

34

87516620

RETAINER

Spring

3шт.

Выбрано товаров: 34