Запчасти Case 2050M XLT (10.400.BE[02]) - ECOLOGY DRAINS (10) - ENGINE

Схема запчастей Case 2050M XLT - (10.400.BE[02]) - ECOLOGY DRAINS (10) - ENGINE
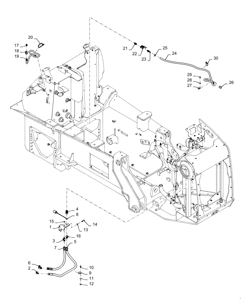
19
30
28
4
22
18
9
16
17
1
8
5
3
2
11
23
6
29
13
10
7
15
26
27
24
21
20
12
14
25
FIT
1:1
100%

Артикул

Название

Примечание

Количество

1

84564796

BRACKET

Ecology Drain

1шт.

2

86512938

90 ELBOW,90 Degree, 37 Degree 3/4"-16 x 9/16"-18 ORB

1шт.

3

47431659

UNION,Male Blkhd, SAE - 12, 37FL - 3/4" NPTF

Male BLKHD SAE-12 37FL - 3/4 NPTF

2шт.

4

84588109

HALF-COUPLING

3/4 - 14NPTF

2шт.

5

84560811

HOSE ASSY.

Coolant Drain

1шт.

6

47750308

REDUCER,M22 x 1.5 M, ORB x 1/2 JIC

See Order Note

1шт.

7

47643966

HYDRAULIC HOSE

Engine Oil Drain

1шт.

8

84538263

DUST CAP

2шт.

9

87547970

CLAMP,28.6mm, Coat, 13.5mm Bolt Hole, P Type

28.6 M12 BOLT ZND

2шт.

10

614-10030

BOLT,Hex, M10 x 1.5 x 30mm, Cl 8.8, Full Thd

2шт.

11

87713132

SPECIAL WASHER,10.7mm ID x 23mm OD x 2.2mm Thk

M10, 10.65X23.0X2.2 HTS

2шт.

12

412141

NUT,M10 x 1.5, Cl 8

2шт.

13

87655043

WASHER,M12, 13.65mm ID x 24.90mm OD x 3.20mm, HT Boron, ZNM

M12, 13.65X24.9X3.2 HTS

2шт.

14

337476

BOLT,Hex, M12 x 1.75 x 50mm, Cl 10.9

2шт.

15

84556198

DECAL

Drain

1шт.

16

87648720

REDUCER,3/4" - 16 JIC x 1-11/16" - 12 JIC

Tube

1шт.

17

221-1185

FITTING

1/2 X 1-1/8 GAL

1шт.

18

86984713

SHUT-OFF VALVE

1шт.

19

87413240

HOSE ASSY.

Hydraulic Drain

1шт.

20

L18331

CABLE TIE,375.9mm L, Nylon

1шт.

21

84422746

NIPPLE

1шт.

22

84422753

SHUT-OFF VALVE,1/2" NPT x 1/2" NPT

1шт.

23

84422999

FITTING,M12, 1/2 - 14, 66mm L, SS

2шт.

24

47420762

HOSE

Fuel, Def Drain

1шт.

25

87016721

HOSE CLAMP,17.5mm - 31.7mm

2шт.

26

84423014

CAP,1/2" - 14

1шт.

27

87032428

CLAMP,22.2mm, Coat, 10.3mm Bolt Hole, J Type

1шт.

28

87655046

SPECIAL WASHER,10.65mm ID x 23mm OD x 2.2mm Thk

3шт.

29

43138

BOLT,Hex, M10 x 1.5 x 20mm, Cl 8.8

3шт.

30

H434289

MOUNTING CLIP,7/8”, Insulated, 1/2” Bolt

2шт.

31

86598102

O-RING,2.2mm Thk x 19.3mm ID, Cl 6, 90 Duro

Big End, Ref. 6 Reducer

1шт.

32

87753668

O-RING,0.921" ID x 1.199" OD x 0.139"

Small End, Ref. 6 Reducer

1шт.

Выбрано товаров: 32