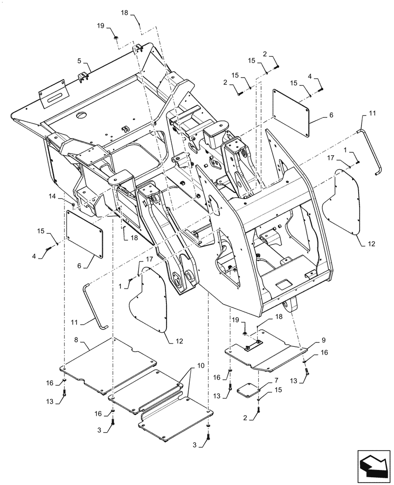
Запчасти Case 2050M XLT PAT (39.100.010) - MAIN FRAME (39) - FRAMES AND BALLASTING

Схема запчастей Case 2050M XLT PAT - (39.100.010) - MAIN FRAME (39) - FRAMES AND BALLASTING
17
5
3
3
14
4
12
12
19
16
18
6
18
15
11
8
2
16
1
1
19
13
11
2
15
15
18
6
7
4
15
13
16
17
10
2
9
15
16
13
FIT
1:1
100%

Артикул

Название

Примечание

Количество

1

43140

BOLT,Hex, M10 x 1.5 x 30mm, Cl 8.8

18шт.

2

337476

BOLT,Hex, M12 x 1.75 x 50mm, Cl 10.9

8шт.

3

412398

BOLT,Hex, M16 x 2 x 50mm, Cl 10.9, Full Thd

8шт.

4

9706702

BOLT,Hex, M12 x 1.75 x 50mm, Cl 8.8

8шт.

5

47864517

FRAME

Main, Case, Power Tan

1шт.

6

84375567

COVER

Fender

2шт.

7

84375837

PLATE

Oil Dran Cover

1шт.

8

84530201

COVER PLATE

Belly Pan

1шт.

9

84530204

COVER PLATE

Front Belly Pan

1шт.

10

47792674

PLATE

Forward Belly Pan

2шт.

11

84544970

HANDLE

Forward, Frame

2шт.

12

84578277

COVER

Plate, Forward Side Plate

2шт.

13

86837482

BOLT,Hex, M16 x 55, 10.9, Full Thd

8шт.

14

87447306

SQUARE NUT,M12 x 21mm x 21mm x 11mm H ZND Cl 5A

12шт.

15

87655043

WASHER,M12, 13.65mm ID x 24.90mm OD x 3.20mm, HT Boron, ZNM

16шт.

16

87655044

SPECIAL WASHER,17.75mm ID x 31.50mm OD x 4.20mm, HTS Boron, ZNM

16шт.

17

87655046

SPECIAL WASHER,10.65mm ID x 23mm OD x 2.2mm Thk

18шт.

18

336371A1

PIN,4.88mm OD x 14.23mm L

28шт.

19

405737A2

SQUARE NUT,M16 x 26mm x 26mm x 16mm H ZND CL 5A

16шт.

Выбрано товаров: 19