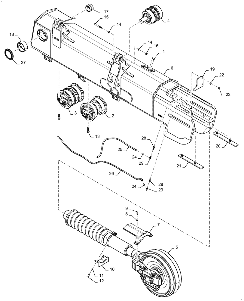
Запчасти Case 2050M XLT PAT (48.134.040) - LH, TRACK ASSY, FRAME, ULTRA-LIFE (48) - TRACKS & TRACK SUSPENSION

Схема запчастей Case 2050M XLT PAT - (48.134.040) - LH, TRACK ASSY, FRAME, ULTRA-LIFE (48) - TRACKS & TRACK SUSPENSION
29
14
12
18
24
7
21
26
6
20
17
24
25
3
29
27
19
2
4
16
15
8
22
5
23
10
9
13
1
14
11
28
28
FIT
1:1
100%

Артикул

Название

Примечание

Количество

1

219-1

LUBE NIPPLE,1/8" - 27 NPTF

2шт.

2

47726077

TRACK ROLLER

5шт.

3

47726078

TRACK ROLLER

3шт.

4

47764615

ROLLER

2шт.

5

47899208

TENSIONER

1шт.

6

47913804

FRAME

1шт.

7

47812396

PLATE

1шт.

8

10520001

WASHER,12.2mm ID x 22mm OD x 3mm Thk

4шт.

9

87584292

BOLT,Hex, M12 x 40mm, Cl 10.9

4шт.

10

47812390

BRACKET

1шт.

11

895-11016

WASHER,17.5mm ID x 30mm OD x 3mm Thk

2шт.

12

84246776

PREV TORQUE BOLT,Hex, M16 x 35mm, Cl 10.9

2шт.

13

47950137

SCREW,M20 x 65mm, 10.9 ZND

32шт.

14

87563152

WASHER,17mm ID x 26.5mm OD x 4mm Thk

8шт.

15

827-16120

BOLT,Hex, M16 x 2 x 120mm, Cl 10.9

4шт.

16

86512555

NUT,M16 x 2, Cl 10

4шт.

17

47836813

BRONZE BUSHING,75.2mm ID x 89.1mm OD x 60.2mm L

1шт.

18

47836811

BUSHING,127.0mm ID x 140.4mm x 60.2mm L

1шт.

19

47812385

COVER

2шт.

20

47910268

PLATE

1шт.

21

47910771

PLATE

1шт.

22

87613255

WASHER,0.47" ID x 1.5" OD x 0.13" Thk

4шт.

23

412141

NUT,M10 x 1.5, Cl 8

4шт.

24

86512933

90 ELBOW,90 Degree, 7/16"-20, 37 Degree x 7/16"-20, 37 Degree Fem Sw

4шт.

25

48043487

HOSE,775mm L

1шт.

26

47905791

HOSE,1750mm L

1шт.

27

47914181

SEALING RING

1шт.

28

47550022

ELBOW

2шт.

29

264219

BOLT,Hex, M16 x 2 x 16mm, Cl 8.8, Full Thd

28шт.

Выбрано товаров: 29