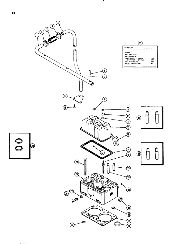
Запчасти Case 1150 (008) - CYLINDER HEAD AND COVER, (401) DIESEL ENGINE, USED PRIOR TO ENG. SN. 2306516 (01) - ENGINE

Схема запчастей Case 1150 - (008) - CYLINDER HEAD AND COVER, (401) DIESEL ENGINE, USED PRIOR TO ENG. SN. 2306516 (01) - ENGINE
19
20
29
3
38
10
4
3
33
14
39
27
15
16
8
12
18
37
31
13
35
30
11
1
6
25
34
17
28
7
26
2
32
9
FIT
1:1
100%

Артикул

Название

Примечание

Количество

1

A34778

TUBE

- breather, upper

1шт.

2

A34777

HOSE

- breather, tube connection (1-1/8" I.D. x 3")

1шт.

3

214-256

HOSE CLAMP,#20, 0.81" - 1.75", Type F Worm

CLAMP - hose, 1-3/16" x 1-3/4"

2шт.

4

A34779

TUBE - breather, lower

1шт.

6

75-436

SCREW,Rd, 1/4" - 20 x 2 1/4"

- mach., 1/4 x 2-1/2" rd. hd.

3шт.

7

A34133

GASKET

- breather screw

3шт.

8

A23685

GASKET

-, Serial Range: breather-cover

3шт.

9

25-117

NUT,7/16"-20, G5

- 7/16" N.F. hex

6шт.

10

A23683

WASHER

- bevel, cover nut

6шт.

11

A23684

GASKET

GASKET - cover stud nut

6шт.

12

A23681

COVER ASSY

. - cylinder head

3шт.

13

131-114

SPRING NUT,Rtnr, 1/4" - 20, 0.25" High

NUT - 1/4"-20 Tinnerman

1шт.

14

A57595

CYLINDER HEAD GASKET

cylinder head cover (Replaces A27972)

3шт.

15

321-1131

DECAL

- engine data, cylinder head cover

1шт.

16

A22689

NUT

- eye, engine lifting

2шт.

17

A23686

BRACKET

- breather tube

1шт.

18

193-528

SCREW,SEMS, Hex Soc Hd, 3/8"-16 x 1 1/2"

BOLT - breather bracket to pan (3/8 x 1-1/2" N.C. hex., sems)

2шт.

19

A57458

STUD

- cylinder head cover & rocker bracket

6шт.

20

A23355

BOLT

- head to block (9/16 x 6" N.C. hex.)

27шт.

25

A33643

HEAD (CYLINDER)

HEAD ASSY. - cylinder, Includes: Ref. 26 - 32

3шт.

26

A10678

STUD

- nozzle holder (large)

2шт.

27

A10679

GASKET

- nozzle stud

2шт.

28

NSS

NOT SOLD SEPARAT

GUIDE - intake valve (Order ref. 37)

1шт.

29

NSS

NOT SOLD SEPARAT

GUIDE - exhaust valve (Order ref. 38)

1шт.

30

A27898

PIN - locating pin, powrcel

2шт.

31

A34124

PLUG,Cup, 1 5/8", Stainless

- expansion, cylinder head

2шт.

32

NSS

NOT SOLD SEPARAT

INSERT - exhaust valve (Order ref. 39)

1шт.

33

A27410

O-RING,0.487" ID x 0.693" OD x 0.103"

"O" RING - cyl. head oil pressure (1/2 x 11/16 x 3/32")

3шт.

34

A7669

RING

GASKET - cyl. head water passage (rubber) (7/8 x 1-3/32 x 5/64")

6шт.

35

A23118

GASKET

- mounting, cylinder, Serial Range: head-block

3шт.

37

A21671

GUIDE

KIT - intake valve (Set of 2)

1шт.

38

A21674

GUIDE

KIT - exhaust valve (Set of 2)

1шт.

39

A57484

INSERT

KIT - exhaust valve (Set of 2)

1шт.

Выбрано товаров: 33