Запчасти Case 1150 (062) - TRANSMISSION CASE (03) - TRANSMISSION

Схема запчастей Case 1150 - (062) - TRANSMISSION CASE (03) - TRANSMISSION
22
3
32
19
39
5
27
21
48
17
45
4
42
11
1
37
30
8
44
25
7
9
43
40
38
23
18
24
24
41
6
29
36
26
2
28
45
10
20
26
27
15
46
47
31
46
25
16
47
48
FIT
1:1
100%

Артикул

Название

Примечание

Количество

A50570

TRANSMISSION & FINAL DRIVE (1st used trans. S/N 2663630)

1шт.

A50315

TRANSMISSION & FINAL DRIVE (Prior to trans. S/N 2663630)

1шт.

A50569

TRANSMISSION ASSY. - less hydraulics & final drive (1st used trans. SN 2663630)

1шт.

A50314

TRANSMISSION ASSY. - less hydraulics & final drive (Used prior to trans. SN 2663630)

1шт.

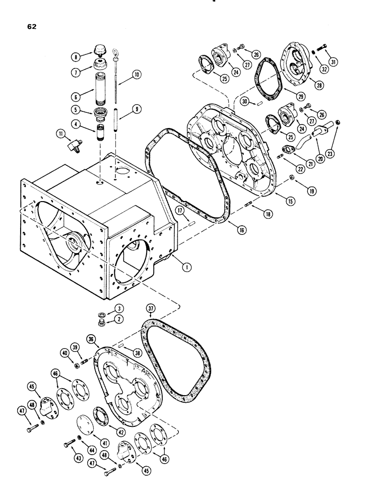
1

A50426

HOUSING

- transmission, main (Replaces A50152)

1шт.

2

R14777

PLUG

- drain, transmission housing

1шт.

3

A58613

SEALING WASHER

WASHER - drain plug (Replaces A27947)

1шт.

4

221-218

PIPE,Nipple, 3/4" NPT x 3 1/2"

NIPPLE - pipe, 3/4" P.T. x 3-1/2"

1шт.

5

221-360

REDUCER - pipe, 3/4" P.T. to 2" P.T.

1шт.

6

221-314

NIPPLE - pipe, 2" P.T. x 6-1/2"

1шт.

7

70665

CAP - pipe, filter mounting

1шт.

8

A27173

BREATHER

FILTER - breather

1шт.

9

R12344

SUPPORT ASSY.

SUPPORT - dipstick

1шт.

10

R12345

DIPSTICK

- oil level gauge

1шт.

11

R19880

FITTING

ELBOW - transmission oil return, 90 deg.

1шт.

15

A50383

COVER

- transmission front

1шт.

16

70845

GASKET

- front cover mounting

1шт.

17

70204

PIN - dowel, cover locating

6шт.

18

A50342

STUD

- front & rear cover (1/2" N.C. x 1-7/8")

39шт.

19

88871

NUT,1/2"-13, GC

NUT, LOCK, , Mounting stud 1/2"-13, GC

39шт.

20

A50384

TUBE

- oil suction

1шт.

21

A50109

GASKET

- tube

1шт.

22

A50362

STUD

- tube flange (3/8" N.C. x 1-3/8")

2шт.

23

25-106

NUT,3/8"-16, G5

- tube stud, 3/8" N.C. hex

2шт.

24

R11414

COVER

- oil inlet, front cover

2шт.

25

R11428

GASKET

- front oil inlet cover

2шт.

26

13-616

BOLT,Hex, 3/8" - 16 x 1", Gr 5, Full Thd

Cover Hex, 3/8"-16 x 1", G5, Full Thd

6шт.

27

A22317

WASHER

- copper (25/64 x 11/16 x 3/64")

6шт.

28

A50159

NO LONGER SERVICED

COVER - mechanical shift (See Figure 68)

1шт.

29

R11425

GASKET

- shift cover

1шт.

30

70205

PIN

- dowel, (1/2" x 1-1/2")

2шт.

31

13-624

BOLT,Hex, 3/8" - 16 x 1-1/2", Gr 5

- cover, 3/8 x 1-1/2" N.C. hex

9шт.

32

A22317

WASHER

- copper (25/64 x 11/16 x 3/64")

9шт.

36

A50161

COVER - rear, transmission

1шт.

37

70844

GASKET

- rear cover mounting

1шт.

38

70205

PIN

- dowel, rear cover (1/2 x 1-1/2")

2шт.

39

A50342

STUD

- rear cover (1.2" N.C. x 1-7/8")

17шт.

40

88871

NUT,1/2"-13, GC

NUT, LOCK, 1/2"-13, GC

17шт.

41

70838

COVER

- rear cover drive shaft

1шт.

42

A50058

GASKET

- drive shaft cover mounting

1шт.

43

13-616

BOLT,Hex, 3/8" - 16 x 1", Gr 5, Full Thd

4шт.

44

A22317

WASHER

- cover bolt, copper (25/64 x 11/16 x 3/64")

4шт.

45

70279

PIPE FITTING

- oil inlet, rear

2шт.

46

1342256C1

SHIM

- cover mounting, .018" to .022" thick

1шт.

46

1342255C1

SHIM

- cover mounting, .007" to .0063" thick

1шт.

47

13-616

BOLT,Hex, 3/8" - 16 x 1", Gr 5, Full Thd

Cover Hex, 3/8"-16 x 1", G5, Full Thd

12шт.

48

A22317

WASHER

- copper (25/64 x 11/16 x 3/64")

12шт.

Выбрано товаров: 47