Запчасти Case 1150 (148) - LOADER BUCKET AND DOZING BLADE, 2 CUBIC YARD BUCKET (05) - UPPERSTRUCTURE CHASSIS

Схема запчастей Case 1150 - (148) - LOADER BUCKET AND DOZING BLADE, 2 CUBIC YARD BUCKET (05) - UPPERSTRUCTURE CHASSIS
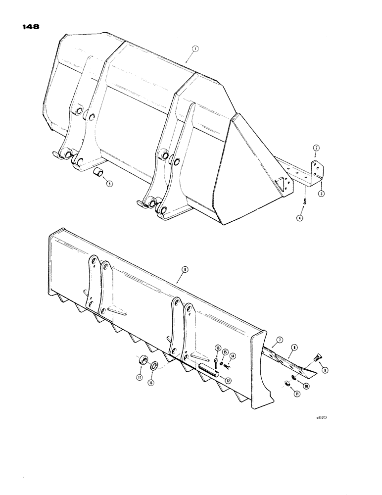
8
15
10
5
16
7
11
13
3
17
12
6
1
2
14
4
9
FIT
1:1
100%

Артикул

Название

Примечание

Количество

1

D39381

BUCKET - 2 cu. yd., without teeth, Includes: Ref. 2 - 5

1шт.

2

D39398

BLADE

CUTTING EDGE - bucket

1шт.

3

46-840

RIVET,Pop, 1/2" x 2 1/2"

- 1/2" dia. x 2-1/2"

6шт.

4

46-836

RIVET,Csk, 1/2" x 2 1/4"

- 1/2" dia. x 2-1/4"

22шт.

5

D33023

BUSHING,51.02mm ID x 63.5mm OD x 50.8mm L

- bucket ear

8шт.

R14478

BLADE - loader dozing, complete, Includes: Ref. 6 - 11

1шт.

6

NSS

NOT SOLD SEPARAT

BLADE - loader dozing (machinery item)

1шт.

7

D29981

BLADE

CUTTING EDGE - center, loader dozing blade (machinery item)

1шт.

8

R31855

EDGE, CUTTING

CUTTING EDGE - R.H. end, loader dozing blade (machinery item) (With 5 Bolt Holes)

1шт.

8

R31854

EDGE, CUTTING

CUTTING EDGE - L.H. end (Not illustrated), loader dozing blade (machinery item) (With 5 Bolt Holes)

1шт.

9

19-1036

PLOW BOLT,5/8" - 11 x 2 1/4", Gr 5

BOLT - plow, 5/8" - 11 NC x 2-1/4", loader dozing blade (machinery item)

24шт.

10

92-10

LOCK WASHER,5/8"

WASHER, LOCK, , Loader dozing blade (machinery item) 5/8"

24шт.

11

25-1010

NUT,5/8"-11, G5

Loader dozing blade (machinery item) 5/8"-11, G5

24шт.

R2796

KIT - pin, , Includes: Ref. 12 - 17, loader dozing blade (machinery item)

1шт.

12

R16675

AXLE PIN

PIN - mounting, loader dozing blade (machinery item)

4шт.

13

R17756

ROD,12.7mm OD x 109.54mm L

- pin retaining, loader dozing blade (machinery item)

4шт.

14

13-816

BOLT,Hex, 1/2" - 13 x 1", Gr 5, Full Thd

Loader dozing blade (machinery item) Hex, 1/2"-13 x 1", G5, Full Thd

4шт.

15

92-8

LOCK WASHER,1/2"

loader dozing blade (machinery item) 1/2"

4шт.

16

R15112

SPACER

- dump and lift arm, 1/8" thick, loader dozing blade (machinery item)

4шт.

17

R14481

BUSHING

SPACER - tilt and lift arm, 7/8" thick, loader dozing blade (machinery item)

4шт.

Выбрано товаров: 20