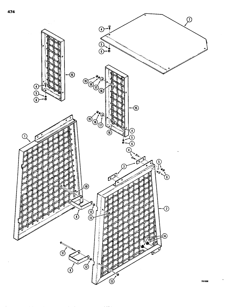
Запчасти Case 1150B (474) - ROLL-OVER-PROTECTION SIDE SCREENS AND EXTENSION (05) - UPPERSTRUCTURE CHASSIS

Схема запчастей Case 1150B - (474) - ROLL-OVER-PROTECTION SIDE SCREENS AND EXTENSION (05) - UPPERSTRUCTURE CHASSIS
1
2
4
4
4
12
17
7
13
15
6
19
6
4
5
3
6
5
17
6
11
18
19
6
10
12
5
15
18
9
13
14
5
16
16
FIT
1:1
100%

Артикул

Название

Примечание

Количество

1

R39249

BAFFLE

SCREEN - LH side, all models

1шт.

2

R39248

BAFFLE

SCREEN - RH side, all models

1шт.

3

R37018

CLAMP - upper

4шт.

4

113-417

BOLT,Hex, 1/2" - 13 x 1-1/4", Gr 5, Full Thd

14шт.

5

192-23

LOCK WASHER,1/2"

WASHER, LOCK, 1/2"

14шт.

6

129-105

NUT,Hex, 1/2" - 13, Gr 5

14шт.

7

R39250

ROOF

CANOPY EXTENSION - dozer and drawbar models

1шт.

8

F43766

SUPPORT

CLAMP - upper rear

2шт.

9

R37018

CLAMP - lower rear

2шт.

10

113-423

BOLT,Hex, 1/2" - 13 x 7", Gr 5

HHCS - 1/2" - 13 NC x 7", plated

2шт.

11

113-443

BOLT,Hex, 1/2" - 13 x 6-1/2", Gr 5

2шт.

12

131-1308

JAM NUT,Jam, 1/2"-13

NUT - hex, self lock, 1/2" - 13 NC

4шт.

13

129-105

NUT,Hex, 1/2" - 13, Gr 5

4шт.

14

R38089

CUSHION ASSY.

CUSHION - rubber

4шт.

15

F96631

SCREEN

- front, dozer and drawbar models

2шт.

16

113-412

BOLT,Hex, 1/2" - 13 x 1-3/4", Gr 5

4шт.

17

R39251

SPACER

4шт.

18

192-23

LOCK WASHER,1/2"

WASHER, LOCK, 1/2"

4шт.

19

129-105

NUT,Hex, 1/2" - 13, Gr 5

4шт.

Выбрано товаров: 19