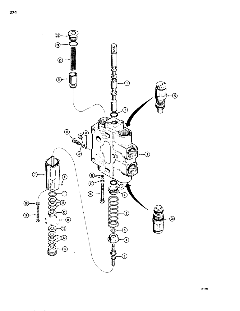
Запчасти Case 1150B (374) - D87084 LOADER LIFT SECTION (07) - HYDRAULIC SYSTEM

Схема запчастей Case 1150B - (374) - D87084 LOADER LIFT SECTION (07) - HYDRAULIC SYSTEM
1
17
13
18
24
2
4
6
1
4
15
14
2
7
13
22
3
27
12
19
21
16
23
5
20
10
28
9
12
11
25
26
8
FIT
1:1
100%

Артикул

Название

Примечание

Количество

D87084

VALVE

LIFT SECTION - loader, identification no. 308, Includes: Refs. 1 - 28

1шт.

1

NSS

NOT SOLD SEPARAT

BODY AND SPOOL

1шт.

2

G46908

O-RING

2шт.

3

R30192

SPRING

1шт.

4

R30191

WASHER

- spring

2шт.

5

R30198

WASHER

SPACER

1шт.

6

D78447

SHAFT

- detent

1шт.

7

R30190

HOUSING

1шт.

8

R30195

SCREW

- set

1шт.

9

75-436

SCREW,Rd, 1/4" - 20 x 2 1/4"

- slotted, 1/4" - 20 NC x 2-1/4"

2шт.

10

92-4

LOCK WASHER,1/4"

WASHER, LOCK, 1/4"

2шт.

11

D78438

WASHER

- special

1шт.

12

D78437

WASHER

- Bellville

6шт.

13

D78439

RETAINER

- bearing

2шт.

14

211-257

BALL,1/4" Dia

Steel 1/4" Dia

7шт.

15

R30194

PLUG

1шт.

D87080

VALVE

SHUTTLE - primary, Includes: Refs. 16 - 18

1шт.

16

NSS

NOT SOLD SEPARAT

BODY

1шт.

R30186

SEAL

KIT - seal, Includes: Refs. 17 & 18

1шт.

17

NSS

NOT SOLD SEPARAT

O-RING - large

1шт.

18

NSS

NOT SOLD SEPARAT

O-RING - small

2шт.

D87081

SCREW

SHUTTLE - secondary, Includes: Refs. 9 - 21

1шт.

19

NSS

NOT SOLD SEPARAT

BODY

1шт.

R30185

SEAL KIT

KIT - seal, Includes: Refs. 20 & 21

1шт.

20

NSS

NOT SOLD SEPARAT

O-RING - large

1шт.

21

NSS

NOT SOLD SEPARAT

O-RING - small

1шт.

22

211-255

BALL,3/16 Dia

steel 3/16 Dia

1шт.

23

9841223

PLUG,1-1/16" - 12 ORB

Incl. Ref. 24 Hex Soc, 1 1/16"-12 ORB

1шт.

24

218-5008

O-RING,0.116" Thk x 0.924" ID, -912, Cl 6, 90 Duro

1шт.

25

R30189

SPRING

1шт.

26

D87082

VALVE POPPET

POPPET

1шт.

27

D78449

VALVE

- anticavitation, parts list Fig. 392

1шт.

28

D78479

VALVE

- relief, parts list Fig. 390

1шт.

Выбрано товаров: 33