Запчасти Case 1150B (388) - R87074 DOZER LIFT SECTION (07) - HYDRAULIC SYSTEM

Схема запчастей Case 1150B - (388) - R87074 DOZER LIFT SECTION (07) - HYDRAULIC SYSTEM
19
16
30
10
15
13
22
31
12
26
13
1
23
28
2
4
21
5
3
32
11
24
14
16
9
25
27
6
7
17
8
8
18
20
29
9
FIT
1:1
100%

Артикул

Название

Примечание

Количество

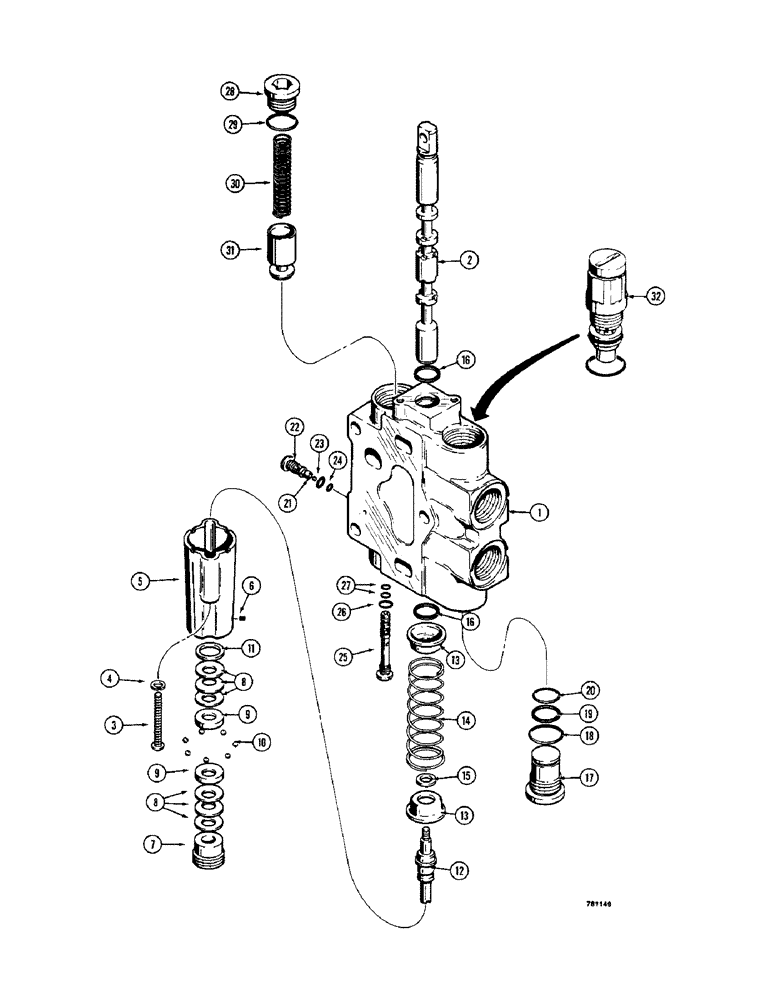
D87074

VALVE

LIFT SECTION - dozer, identification no. 307, Includes: Refs. 1 - 32

1шт.

1

NSS

NOT SOLD SEPARAT

BODY

1шт.

2

NSS

NOT SOLD SEPARAT

SPOOL

1шт.

3

75-436

SCREW,Rd, 1/4" - 20 x 2 1/4"

- slotted, 1/4" - 20 NC x 2-1/4"

2шт.

4

92-4

LOCK WASHER,1/4"

WASHER, LOCK, 1/4"

2шт.

5

R30190

HOUSING

1шт.

6

R30195

SCREW

- set

1шт.

7

R30194

PLUG

- detent

1шт.

8

D78437

WASHER

- Belleville

6шт.

9

D78439

RETAINER

- ball

2шт.

10

211-257

BALL,1/4" Dia

Steel 1/4" Dia

7шт.

11

D78438

WASHER

- special

1шт.

12

D78447

SHAFT

1шт.

13

CASR30191

RETAINER

- spring

2шт.

14

R30192

SPRING

1шт.

15

R30198

WASHER

SPACER

1шт.

16

G46908

O-RING

2шт.

17

R30167

PLUG

Includes: P/N R30174 and Refs. 18 - 20

1шт.

R30174

GASKET KIT

KIT - seal, Includes: Refs. 18 - 20

1шт.

18

238-6021

O-RING,15/16 X 1 - 1/16, Cl 6

(Replaced NSS) -021, 90 Duro, .926" ID x .070" Thk

1шт.

Part of Seal Kit, P/N R30174

1шт.

19

NSS

NOT SOLD SEPARAT

RING - backup

1шт.

Part of Seal Kit, P/N R30174

1шт.

20

NSS

NOT SOLD SEPARAT

O-RING - small

1шт.

Part of Seal Kit, P/N R30174

1шт.

21

211-255

BALL,3/16 Dia

steel 3/16 Dia

1шт.

D87081

SCREW

SHUTTLE - secondary, Includes: Refs. 25 - 27

1шт.

22

NSS

NOT SOLD SEPARAT

BODY

1шт.

R30185

SEAL KIT

KIT - seal, Includes: Refs. 23 & 24

1шт.

23

NSS

NOT SOLD SEPARAT

O-RING - large

1шт.

Part of Seal Kit, P/N R30185

1шт.

24

NSS

NOT SOLD SEPARAT

O-RING - small

1шт.

Part of Seal Kit, P/N R30185

1шт.

D87080

VALVE

SHUTTLE - primary, Includes: Refs. 25 - 27

1шт.

25

NSS

NOT SOLD SEPARAT

BODY

1шт.

R30186

SEAL

KIT - seal, Includes: Refs. 26 & 27

1шт.

26

NSS

NOT SOLD SEPARAT

O-RING - large

1шт.

Part of Seal Kit, P/N R30186

1шт.

27

NSS

NOT SOLD SEPARAT

O-RING - small

2шт.

Part of Seal Kit, P/N R30186

1шт.

28

9841223

PLUG,1-1/16" - 12 ORB

Incl. Ref. 29 Hex Soc, 1 1/16"-12 ORB

1шт.

29

218-5008

O-RING,0.116" Thk x 0.924" ID, -912, Cl 6, 90 Duro

1шт.

30

R30189

SPRING

1шт.

31

D87082

VALVE POPPET

POPPET

1шт.

32

D78449

VALVE

- anticavitation and relief, parts list Fig. 390

1шт.

Выбрано товаров: 45