Запчасти Case 1150C (294) - EQUIPMENT CONTROL VALVE MOUNTING (08) - HYDRAULICS

Схема запчастей Case 1150C - (294) - EQUIPMENT CONTROL VALVE MOUNTING (08) - HYDRAULICS
6
7
3
6
4
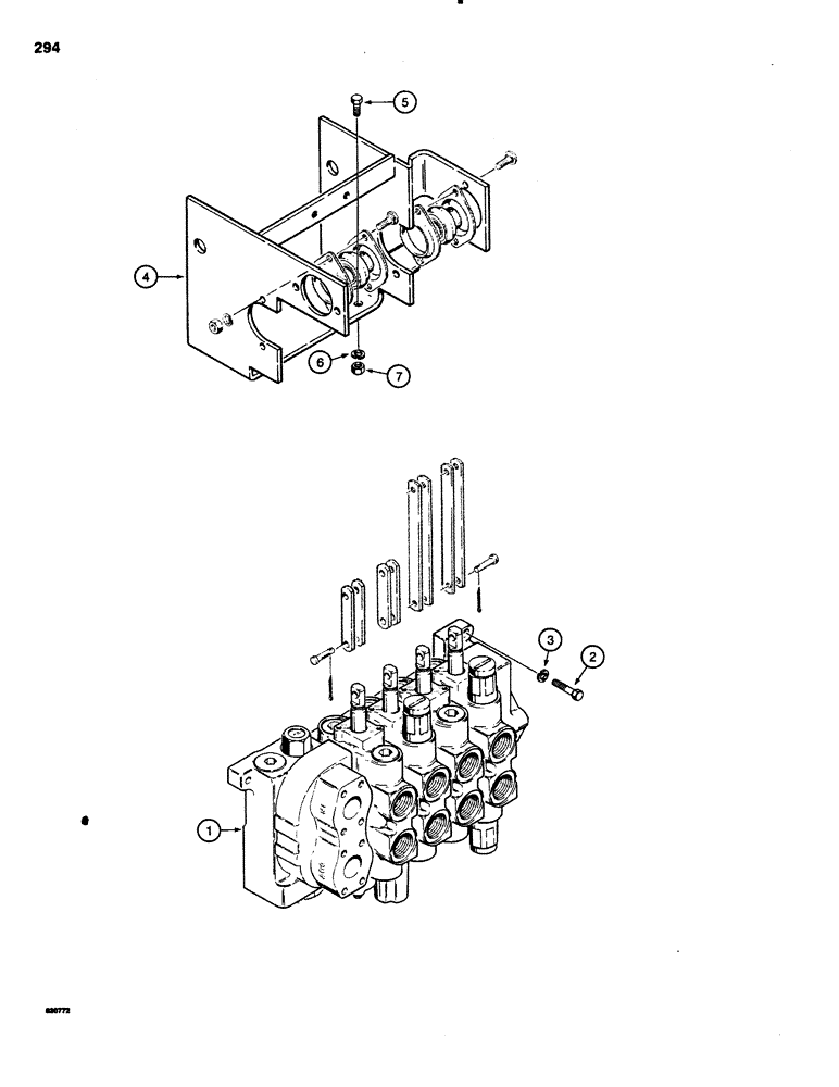
1
2
FIT
1:1
100%

Артикул

Название

Примечание

Количество

1

REF

INSTRUCTION

CONTROL VALVE - equipment, for correct assembly and components, see Figures 308 - 314

1шт.

2

13-626

BOLT,Hex, 3/8" - 16 x 1-5/8", Gr 5

3шт.

3

92-6

LOCK WASHER,3/8"

3шт.

4

R27643

BRACKET

- mounting, linkage

1шт.

5

13-616

BOLT,Hex, 3/8" - 16 x 1", Gr 5, Full Thd

4шт.

6

92-6

LOCK WASHER,3/8"

4шт.

7

25-106

NUT,3/8"-16, G5

- hex, 3/8" - 16 NC

4шт.

Выбрано товаров: 7