Запчасти Case 1150C (354) - ANGLE TILT PITCH DOZER MODELS, BLADE AND MOUNTING (09) - CHASSIS/ATTACHMENTS

Схема запчастей Case 1150C - (354) - ANGLE TILT PITCH DOZER MODELS, BLADE AND MOUNTING (09) - CHASSIS/ATTACHMENTS
11
17
4
18
19
16
12
8
2
10
15
9
16
6
13
3
1
5
14
7
15
FIT
1:1
100%

Артикул

Название

Примечание

Количество

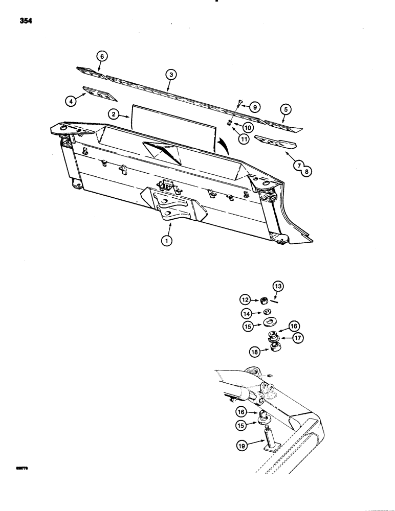
1

R41354

BULL BLADE

BLADE - dozer, standard, Includes: Ref. 2

1шт.

1

R41355

BLADE

- dozer, with push plate, Includes: Ref. 2

1шт.

2

NSS

NOT SOLD SEPARAT

PLATE - push

1шт.

3

R41350

EDGE, CUTTING

CUTTING EDGE - center

1шт.

4

R42470

EDGE, CUTTING

CUTTING EDGE - end, standard, if used

2шт.

5

D51100

EDGE, CUTTING

CUTTING EDGE - right-hand end, heavy duty, if used

1шт.

6

D51101

EDGE, CUTTING

CUTTING EDGE - left-hand end, heavy duty, if used

1шт.

7

R41351

EDGE, CUTTING

CUTTING EDGE - left-hand end, hot cupped, if used

1шт.

8

R41352

EDGE, CUTTING

CUTTING EDGE - right-hand end, hot cupped, if used

1шт.

9

118-415

PLOW BOLT,5/8"-11 x 2 1/4", G8

- 5/8" - 11 NC x 2-1/4"

34шт.

10

92-10

LOCK WASHER,5/8"

WASHER, LOCK, 5/8"

34шт.

11

129-563

NUT,5/8"-11, G8

- hex, 5/8" - 11 NC , grade 8

34шт.

12

25-1224

SLOTTED NUT,1 1/2"-6, G5

CASLTE NUT - 1-1/2" - 6 NC

1шт.

13

132-157

COTTER PIN,Ext Prong Sq Cut, 1/4" x 2 1/2"

Pin, Split (Cotter), 1/4" x 2 1/2"

1шт.

14

R26660

WASHER,40.39mm ID x 101.6mm OD x 12mm Thk

- special

1шт.

15

D52379

GASKET

- C-frame

2шт.

REF. 15-THIS PART IS A FOAM DONUT.

1шт.

16

R37022

SPACER

- bushing

2шт.

17

R32220

SNAP RING,4.331", Int, #433

Ring, Snap, , bushing 4.331", Int, #433

1шт.

18

R37021

SPHERICAL BEARING,63.5mm ID x 111.13mm OD x 64.64mm W

- self-aligning

1шт.

19

R26672

PIN

- blade mounting

1шт.

Выбрано товаров: 21