Запчасти Case 1150C (368) - DRIVE SHAFT AND REAR TRANSMISSION GUARDS (09) - CHASSIS/ATTACHMENTS

Схема запчастей Case 1150C - (368) - DRIVE SHAFT AND REAR TRANSMISSION GUARDS (09) - CHASSIS/ATTACHMENTS
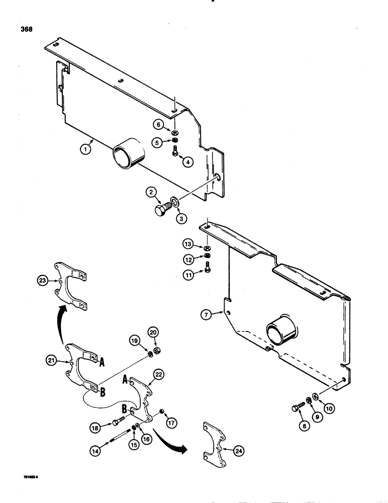
22
9
13
7
5
1
2
3
12
8
24
19
16
21
15
11
10
23
18
20
17
6
4
14
FIT
1:1
100%

Артикул

Название

Примечание

Количество

1

R36045

GUARD

- rear, dozer and drawbar models

1шт.

2

13-1624

BOLT,Hex, 1" - 8 x 1-1/2", Gr 5, Full Thd

2шт.

3

195-53

WASHER,1" x 2" x .134"

- flat, 1"

2шт.

4

13-616

BOLT,Hex, 3/8" - 16 x 1", Gr 5, Full Thd

3шт.

5

92-6

LOCK WASHER,3/8"

3шт.

6

195-25

WASHER,3/8"

- flat, 3/8"

3шт.

7

R33417

GUARD

- rear, ripper models

1шт.

8

13-820

BOLT,Hex, 1/2" - 13 x 1-1/4", Gr 5, Full Thd

2шт.

9

92-8

LOCK WASHER,1/2"

2шт.

10

195-33

WASHER,1/2"

- flat, 1/2"

2шт.

11

13-616

BOLT,Hex, 3/8" - 16 x 1", Gr 5, Full Thd

2шт.

12

92-6

LOCK WASHER,3/8"

2шт.

13

195-25

WASHER,3/8"

- flat, 3/8"

2шт.

R40404

KIT

- driveshaft guard, dozer and drawbar models, Includes: Ref. 14 - 20

1шт.

14

A51467

STUD

- 3/8" - 16 NC x 4-3/8"

6шт.

15

A50694

DISC

WASHER - seal

6шт.

16

195-25

WASHER,3/8"

- flat, 3/8"

6шт.

17

25-106

NUT,3/8"-16, G5

- hex, 3/8" x 16 NC

6шт.

18

13-824

BOLT,Hex, 1/2" - 13 x 1-1/2", Gr 5, Full Thd

2шт.

19

92-8

LOCK WASHER,1/2"

2шт.

20

25-108

NUT,1/2"-13, G5

- hex, 1/2" - 13 NC

2шт.

21

R39707

GUARD

- drive shaft, left-hand, measures 5" (127 mm) between point A and point B (see illustration), no longer available, order refs. 23 and 24

1шт.

22

R39708

GUARD

- drive shaft, right-hand, measures 5" (127 mm) between point A and point B (see illustration), no longer available, order refs. 23 and 24

1шт.

23

R43823

GUARD

- drive shaft, left-hand, measures 5-1/2" (140 mm) between point A and point B (see illustration), must be used with ref. 24

1шт.

24

R43824

GUARD

- drive shaft, right-hand, measures 5-1/2" (140 mm) between point A and point B (see illustration), must be used with ref. 23

1шт.

Выбрано товаров: 25