Запчасти Case 1150C (370) - SEAT AND RESERVOIRS FRAME, HYDRAULIC GUARDS AND LOADER LIFT FRAME SUPPORT STRUT (09) - CHASSIS/ATTACHMENTS

Схема запчастей Case 1150C - (370) - SEAT AND RESERVOIRS FRAME, HYDRAULIC GUARDS AND LOADER LIFT FRAME SUPPORT STRUT (09) - CHASSIS/ATTACHMENTS
16
5
8
19
4
3
22
14
18
13
4
12
11
2
7
10
21
20
15
17
20
9
6
1
FIT
1:1
100%

Артикул

Название

Примечание

Количество

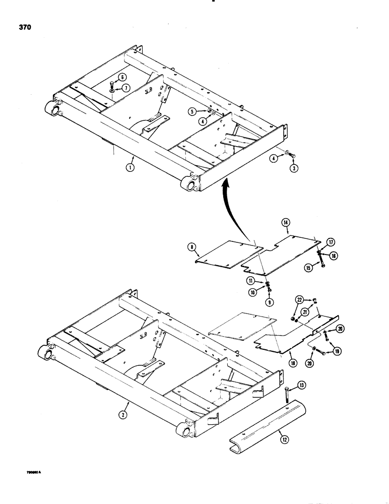
1

R26517

FUNNEL

FRAME - seat and reservoirs, dozer and drawbar models having batteries that mount with four J-type bolts (see Figure 112), if used

1шт.

1

R46595

FRAME - seat and reservoirs, dozer and drawbar models having batteries that mount with two J-type bolts (see Figure 112), if used, not shown

1шт.

2

R36338

FRAME

- seat and reservoirs, loader models having batteries that mount with four J-type bolts (see Figure 112), if used, not shown

1шт.

2

R46583

FRAME - seat and reservoirs, loader models having batteries that mount with two J-type bolts (see Figure 112), if used

1шт.

3

13-1032

BOLT,Hex, 5/8" - 11 x 2", Gr 5

6шт.

4

T53567

BEARING WASHER,16.66mm ID x 33.33mm OD x 3.43mm Thk

WASHER - hardened, 5/8"

12шт.

5

25-1010

NUT,5/8"-11, G5

6шт.

6

26-1228

BOLT,Hex, 3/4" - 10 x 1-3/4", Gr 8

- hex head, 3/4" - 10 NC x 1-3/4", grade 8, use with Loctite

8шт.

7

D34666

WASHER,33.34mm ID x 63.5mm OD x 2.38mm Thk

- hardened, 3/4"

8шт.

8

R27237

PLATE ASSY.

GUARD - rear, all models

1шт.

9

13-824

BOLT,Hex, 1/2" - 13 x 1-1/2", Gr 5, Full Thd

4шт.

10

92-8

LOCK WASHER,1/2"

4шт.

11

195-33

WASHER,1/2"

- flat, 1/2"

4шт.

12

R38881

STAY

STRUT - support, loader lift frame (storage position)

1шт.

13

13-1064

BOLT,Hex, 5/8" - 11 x 4", Gr 5

- hex head, 5/8" - 11 NC x 4"

2шт.

14

R27236

GUARD

- front, dozer models only

1шт.

15

13-820

BOLT,Hex, 1/2" - 13 x 1-1/4", Gr 5, Full Thd

2шт.

16

92-8

LOCK WASHER,1/2"

2шт.

17

195-33

WASHER,1/2"

- flat, 1/2"

2шт.

18

R29501

GUARD - front, loader models only

1шт.

19

13-820

BOLT,Hex, 1/2" - 13 x 1-1/4", Gr 5, Full Thd

3шт.

20

195-33

WASHER,1/2"

- flat, 1/2"

3шт.

21

92-8

LOCK WASHER,1/2"

3шт.

22

25-108

NUT,1/2"-13, G5

- hex, 1/2" - 13 NC

3шт.

Выбрано товаров: 24