Запчасти Case 1150E (6-26) - TRANSMISSION CONTROL VALVE AND BASE (06) - POWER TRAIN

Схема запчастей Case 1150E - (6-26) - TRANSMISSION CONTROL VALVE AND BASE (06) - POWER TRAIN
1
7
6
11
10
13
12a
9
8
4
2
5
11
12
3
FIT
1:1
100%

Артикул

Название

Примечание

Количество

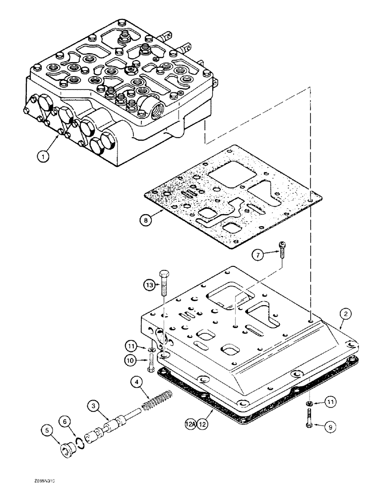
1340746C2

VALVE

CONTROL VALVE AND BASE ASSEMBLY - transmission control, replaces G109999 assembly, Includes: Ref. 1 - 11

1шт.

1

NSS

NOT SOLD SEPARAT

VALVE ASSEMBLY - control, complete parts list Figures 6-28 through 6-32

1шт.

A136287

BASE

ASSEMBLY - control valve, Includes: Ref. 2 - 7

1шт.

2

NSS

NOT SOLD SEPARAT

BASE - valve

1шт.

3

A50782

SPOOL

- equalizer

1шт.

4

A50783

SPRING

- equalizer spool

1шт.

5

86625138

PLUG,7/18" - 14

1шт.

6

237-6010

O-RING,0.097" Thk x 0.755" ID, -910, Cl 6, 90 Duro

10-1, 90 Duro, .755" ID x .097" Thk, Plug, Includes: Ref. 6

1шт.

Part of Seal Kit, P/N 1341844C1

1шт.

7

A51838

LOCK BOLT,1/4" - 20 x 0.75", Gr 8

BOLT - hex socket, self locking, special, 1/4 NC x 3/4 inch

1шт.

8

1980467C2

GASKET

- control, Serial Range: valve-base

1шт.

Part of Seal Kit, P/N 1341844C1

1шт.

9

413-620

BOLT,Hex, 3/8" - 16 x 1-1/4", Gr 5

- hex, 3/8 NC x 1-1/4 inch

10шт.

10

413-632

BOLT,Hex, 3/8" - 16 x 2", Gr 5

- hex, 3/8 NC x 2 inch

4шт.

11

492-11038

LOCK WASHER,3/8"

14шт.

12

1348904C1

GASKET

GASKET - control valve base to transmission housing, if used

1шт.

12a

B17428

LOCTITE

SEALANT - Gasket Eliminator, No. 504, 50 ml tube, control valve base to transmission housing, if used

1шт.

13

413-820

BOLT,Hex, 1/2" - 13 x 1-1/4", Gr 5

- hex, 1/2 NC x 1-1/4 inch

7шт.

1341844C1

SET OF PARTS

KIT - seal, control valve, includes Ref. 6 & 8, for complete kit see Figure 6-44

1шт.

Выбрано товаров: 19